Запчасти Case IH 966 (13-53) - SUPERSTRUCTURE, HEATER AND CONNECTIONS, CUSTOM CAB, 766 DIESEL, 966, 1066 AND 1466 TRACTORS (05) - SUPERSTRUCTURE

Схема запчастей Case IH 966 - (13-53) - SUPERSTRUCTURE, HEATER AND CONNECTIONS, CUSTOM CAB, 766 DIESEL, 966, 1066 AND 1466 TRACTORS (05) - SUPERSTRUCTURE
5
21
10
8
11
11
14
15
7
7
7
6
5
5
4
5
5
9
3
16
12
5
7
5
5
19
2
5
20
17
1
18
5
13
6
5
5
FIT
1:1
100%

Артикул

Название

Примечание

Количество

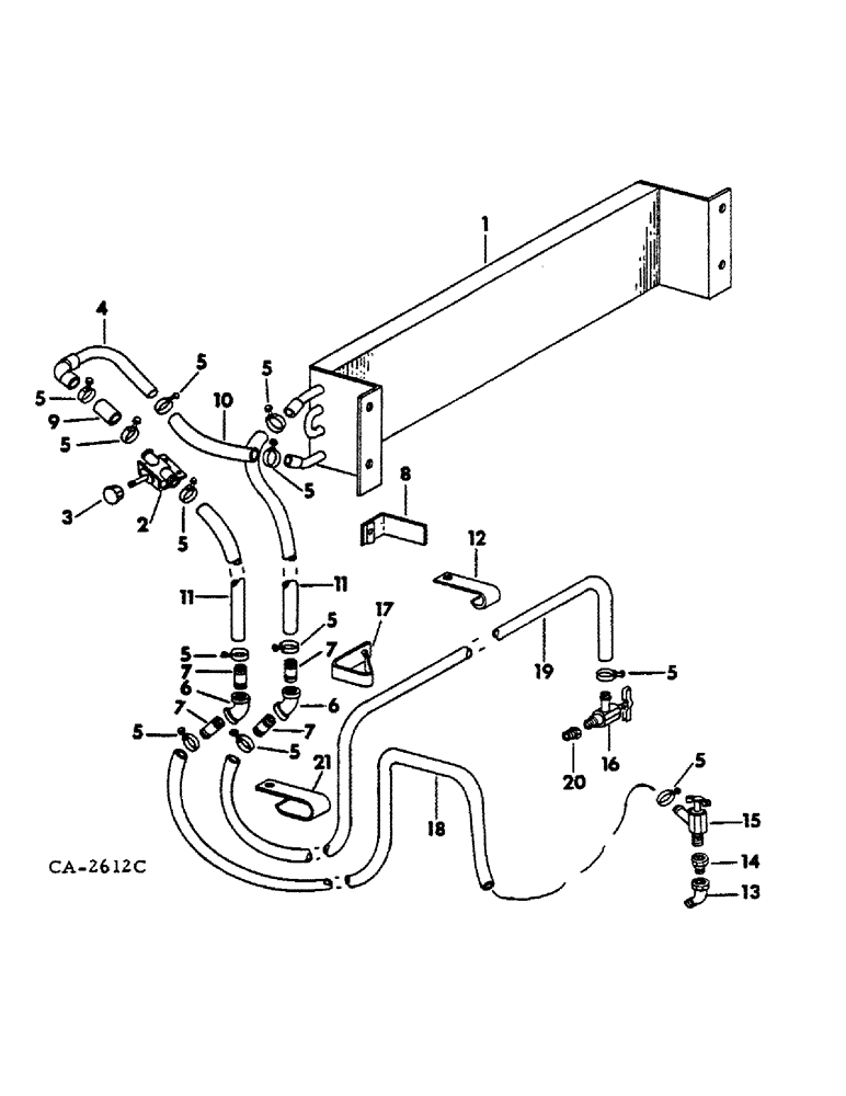
1

539021R1

CORE ASSY, heater

1шт.

88542

BOLT,Hex, 1/4"-20 x 1/2", Gr 5

SCREW, 1/4-20 x 1/2 znd hex-hd cap

4шт.

120375

NUT,Hex, 1/4" - 20, Gr 5

4шт.

2

539020R1

VALVE

heater control

1шт.

160536

SCREW,Cross Pan Hd, 1/4" - 20 x 5/8"

2шт.

120375

NUT,Hex, 1/4" - 20, Gr 5

2шт.

3

539024R1

KNOB

1шт.

4

539042R1

TUBE ASSY, inlet

1шт.

5

39093H

HOSE CLAMP

CLAMP, hose

12шт.

6

144136

ELBOW, 3/8 45 deg znp pipe

2шт.

7

574631R1

FITTING

NIPPLE, 3/8 x 2 pipe

4шт.

8

539038R1

RETAINER, hose

2шт.

9

HOSE, heater, use 2 in. of 5/8 ID heater hose from a 50 ft roll marked, 117724C1

1шт.

10

HOSE, heater, use 8 in. of 5/8 ID heater hose from a 50 ft roll marked, 117724C1

1шт.

11

HOSE, heater, use 72 in. of 5/8 ID heater hose from a 50 ft roll marked, 117724C1

1шт.

12

534671R1

CLIP, heater hose single

1шт.

88574

BOLT,Hex, 5/16" - 18 x 1/2", Gr 5, Full Thd

1шт.

13

137894

ELBOW,45 Degree, 1/2" NPT Street

1/2 x 45 deg pipe street, 766 diesel & 966 gear drive tractors

1шт.

14

221-92

REDUCER,Hex, 3/4" x 3/8" NPT

BUSHING, 3/4-14 to 3/8 reducing pipe

1шт.

15

941980R91

LOCK VALVE

VALVE ASSY, heater inlet shut-off

1шт.

16

301803R91

VALVE

ASSY, heater outlet shut-off

1шт.

17

537064R1

CLIP, 90 deg double heater hose

1шт.

18

HOSE, heater inlet, use 56 in. of 5/8 ID heater hose from a 50 ft roll marked, 117724C1

1шт.

19

HOSE, heater outlet, use 80 in. of 5/8 ID heater hose from a 50 ft. roll marked, 117724C1

1шт.

20

221-89

REDUCER,Hex, 1/2" x 3/8" NPT

BUSHING, 1/2 x 3/8 reducing pipe

1шт.

21

391179R3

CLIP, straight double heater hose

1шт.

Выбрано товаров: 26