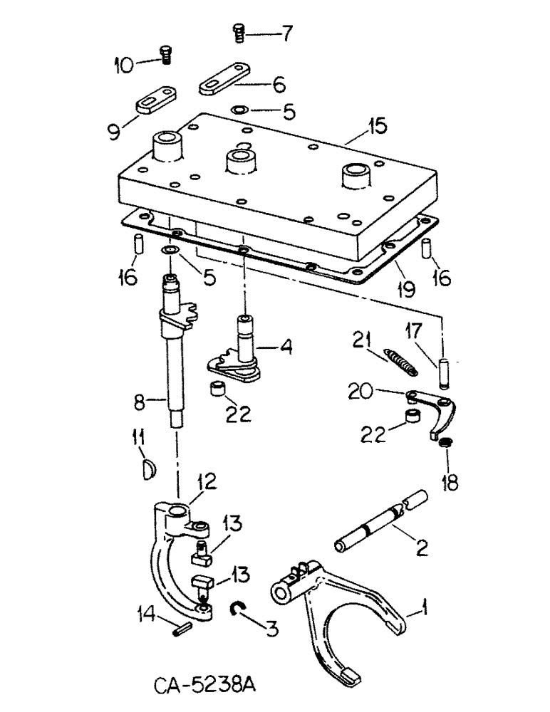
Запчасти Case IH 986 (07-23) - DRIVE TRAIN, GEAR SHIFT MECHANISM, RANGE TRANSMISSION (04) - Drive Train

Схема запчастей Case IH 986 - (07-23) - DRIVE TRAIN, GEAR SHIFT MECHANISM, RANGE TRANSMISSION (04) - Drive Train
4
6
15
5
18
16
9
2
17
7
10
22
11
22
21
5
3
16
12
19
13
20
8
1
14
13
FIT
1:1
100%

Артикул

Название

Примечание

Количество

1

398279R2

FORK

hi-lo shift

1шт.

2

148503C1

PIN,19mm OD x 201.4mm L

hi-lo shift fork, replaces 104325C2 by also ordering two rings 148501C1

1шт.

3

148501C1

RING, SNAP

RING, retaining, replaces 148714C1 by also ordering pin 148503C1

1шт.

4

71526C1

SHAFT

ASSY, hi-lo shift

1шт.

615168R1

WASHER

25/32 x 1-1/2 x 11 ga

1шт.

5

128359

O-RING,0.07" Thk x 0.614" ID, -16, Cl 5, 75 Duro

5/8 x 3/4 x 1/16

2шт.

6

120261C1

BAR

hi-lo shift, lever

1шт.

7

71532C1

BOLT,Hex, 5/16" - 18 x 3/4", Gr 5

hi-lo shift arm

1шт.

25552R1

WASHER,.344" x 1" x .098", HDN

.344 x 1.000 x .098 PHC hdn

1шт.

8

120262C1

SHAFT

ASSY, reverse shift upper

1шт.

615168R1

WASHER

25/32 x 1-1/2 x 11 ga

1шт.

9

120263C1

BAR

reverse shift, lever

1шт.

10

71532C1

BOLT,Hex, 5/16" - 18 x 3/4", Gr 5

reverse shift arm

1шт.

25552R1

WASHER,.344" x 1" x .098", HDN

.344 x 1.000 x .098 PHC hdn

1шт.

11

431787

WOODRUFF KEY,#61, 3/16" x 5/8", HT

KEY, 3/16 x 5/8 woodruff 61

1шт.

12

380308R2

FORK

reverse shift

1шт.

13

380309R1

PAD

reverse shift fork

2шт.

14

19371R1

PIN,1/8" x 3/4", Coiled

2шт.

15

398298R41

COVER

ASSY, rear frame front, consists of (1) cover (NSS), (1) plug 104731C1, (1) plug 386194R1, (1) plug 444612, (1) pin 19962R1, (1) pin 398299R1, (1) pin 382563R1, (1) guide 386450R1

1шт.

104731C1

PLUG

cup

1шт.

386194R1

PLUG,Cup, 3/4"

cup

1шт.

179847

BOLT,Hex, 3/8" - 16 x 2", Gr 5

10шт.

16

19962R1

DOWEL,3/8" x 3/4"

PIN, 3/8 x 3/4 dowel

2шт.

17

398299R1

PIN

shift control pivot

1шт.

FOR444613

PLUG

1/8-27 auto hex-hd pipe

1шт.

18

370290R1

SNAP RING,#50, .392" Dia, E-Type

Ring, Retaining, , shift control arm pivot pin #50, .392" Dia, E-Type

1шт.

19

380315R1

GASKET

rear frame front cover

1шт.

20

398300R2

ARM

ASSY, shift control

2шт.

21

398304R1

SPRING

shift control arm

1шт.

22

380115R2

ROLLER

detent

2шт.

Выбрано товаров: 0