Запчасти Case IH PUMA 115 (1.32.1[03]) - SEMI POWER SHIFT - CENTRAL REDUCTION GEARS (03) - TRANSMISSION

Схема запчастей Case IH PUMA 115 - (1.32.1[03]) - SEMI POWER SHIFT - CENTRAL REDUCTION GEARS (03) - TRANSMISSION
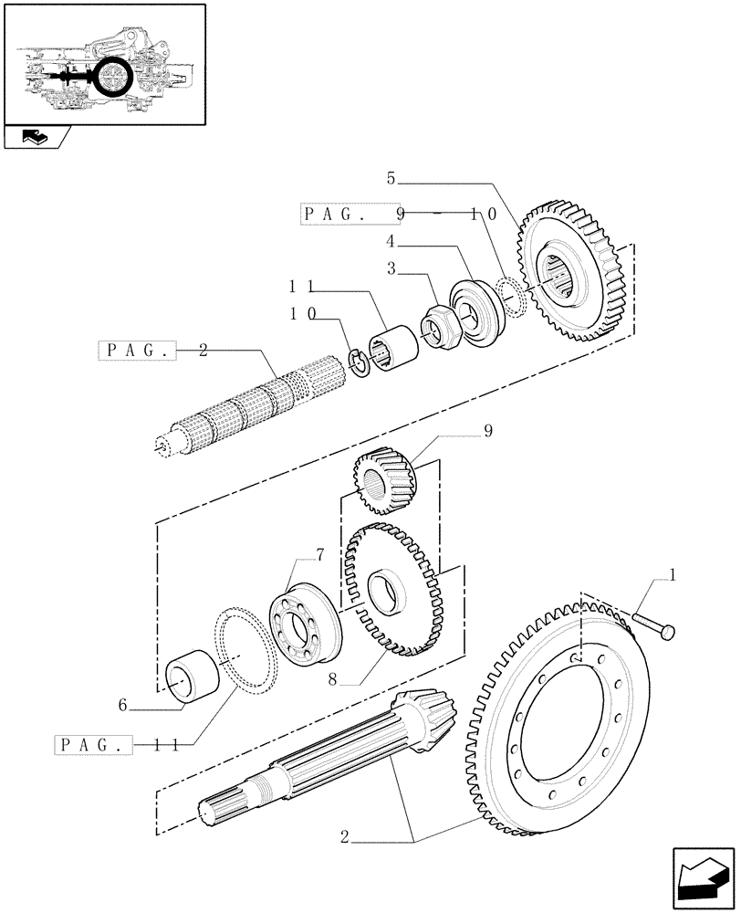
2
11
7
pag. 9 - 10
5
3
home
pag. 11
pag. 2
10
8
6
1
9
4
FIT
1:1
100%

Артикул

Название

Примечание

Количество

1

5163988

BOLT,Hex, M14 x 1.5 x 93mm

M14x1,5x93

10шт.

2

5162572

BEVEL GEAR,10/43 Ratio

(RATIO 10/43)

1шт.

PUMA115, PUMA125, PUMA140

1шт.

2

87559710

BEVEL GEAR,11/43 Ratio

(RATIO11/43)

1шт.

PUMA155

1шт.

3

5147930

RING NUT,M45 x 1.5

M45x1.5x17

1шт.

4

5138727

BEARING ASSY,45mm ID x 106mm OD x 27.25mm W

45x100x27.25

1шт.

5

5163666

DRIVING GEAR,Z43

4WD

1шт.

PUMA115, PUMA125, PUMA140

1шт.

5

5171890

GEAR,Z48

4WD

1шт.

PUMA155

1шт.

6

5145129

SPACER,55mm ID x 70mm OD x 42.5mm L

55x70x42.5

1шт.

7

5111271

ROLLER BEARING,60mm ID x 125mm OD x 37mm W

60x130x48.5

1шт.

8

5183202

GEAR,Z47

1шт.

9

87677236

PINION,Z29

40E/50 KM/M

1шт.

10

11059776

SNAP RING,M38, Int

1шт.

11

5176850

SLEEVE,20T

1шт.

Выбрано товаров: 17