Запчасти Case IH PUMA 125 (1.40. 2/01) - (CL.4) FRONT AXLE W/MULTI-PLATE DIFF. LOCK AND STEERING SENSOR - BOX (VAR.330408) (04) - FRONT AXLE & STEERING

Схема запчастей Case IH PUMA 125 - (1.40. 2/01) - (CL.4) FRONT AXLE W/MULTI-PLATE DIFF. LOCK AND STEERING SENSOR - BOX (VAR.330408) (04) - FRONT AXLE & STEERING
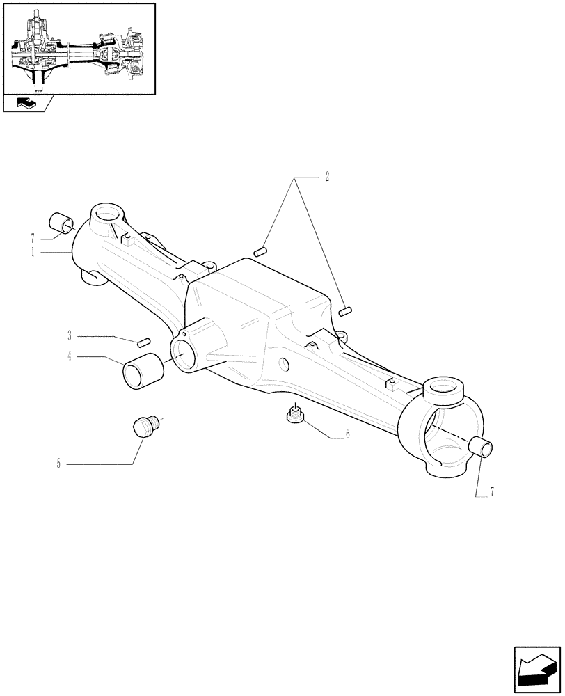
5
7
home
4
1
6
7
3
2
FIT
1:1
100%

Артикул

Название

Примечание

Количество

1

87578776

AXLE HOUSING

Incl. 2-4, 7, Serial Range: -C5731

1шт.

1

87633677

AXLE HOUSING

Incl. 2-4, 7, Start Serial: D5731

1шт.

2

5174376

DOWEL,M16 x 30

2шт.

3

4966244

PIN,5mm OD x 15mm L

5 x 15

1шт.

4

5140017

PIN,52.65mm OD x 153.00mm

1шт.

5

14324413

PLUG,M22 x 1.5

1шт.

6

14326211

PLUG,M22 x 1.50, R50, ZND

1шт.

7

87525550

BUSHING,42.1mm ID x 46.13mm OD x 28mm L

2шт.

Выбрано товаров: 8