Запчасти Case IH PUMA 125 (1.40. 4/01) - (CL.4) SUSPENDED FRONT AXLE W/MULTI-PLATE DIFF. LOCK AND ST. SENSOR - BOX (VAR.330429) (04) - FRONT AXLE & STEERING

Схема запчастей Case IH PUMA 125 - (1.40. 4/01) - (CL.4) SUSPENDED FRONT AXLE W/MULTI-PLATE DIFF. LOCK AND ST. SENSOR - BOX (VAR.330429) (04) - FRONT AXLE & STEERING
1
3
5
home
2
5
4
FIT
1:1
100%

Артикул

Название

Примечание

Количество

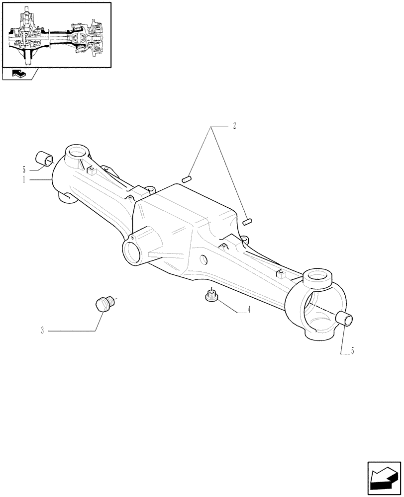
1

87578777

AXLE HOUSING

Incl. 2, 5, Serial Range: -C5731

1шт.

1

87633706

AXLE HOUSING

Incl. Ref. 2, 5, Start Serial: D5731

1шт.

2

5174376

DOWEL,M16 x 30

2шт.

3

14324411

MAGNETIC PLUG,M22 x 1.50, Cl 5.8, ZND

1шт.

4

14326211

PLUG,M22 x 1.50, R50, ZND

1шт.

5

87525550

BUSHING,42.1mm ID x 46.13mm OD x 28mm L

, Serial Range: -C5731

2шт.

5

87525550

BUSHING,42.1mm ID x 46.13mm OD x 28mm L

, Start Serial: D5731

2шт.

Выбрано товаров: 7