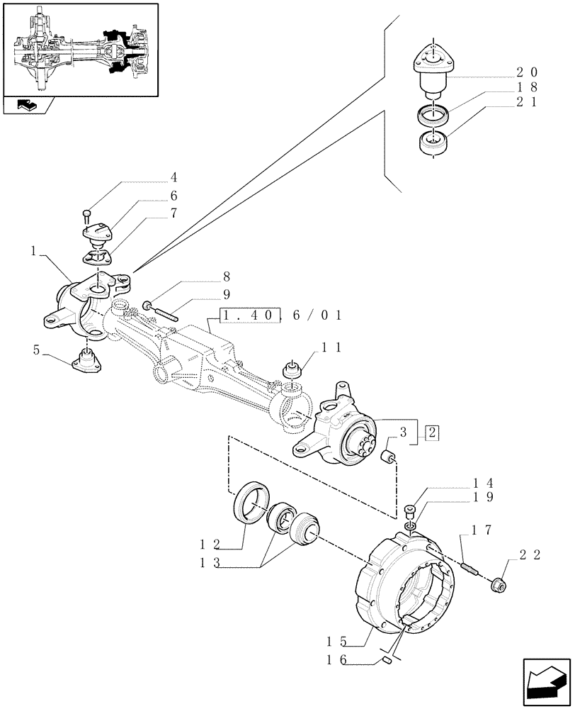
Запчасти Case IH PUMA 125 (1.40. 6/02) - 4WD (CL.3) FRONT AXLE WITH LIMITED SLIP DIFF. L/ST. SENSOR W/BRAKES - HUBS (VAR.330425) (04) - FRONT AXLE & STEERING

Схема запчастей Case IH PUMA 125 - (1.40. 6/02) - 4WD (CL.3) FRONT AXLE WITH LIMITED SLIP DIFF. L/ST. SENSOR W/BRAKES - HUBS (VAR.330425) (04) - FRONT AXLE & STEERING
18
20
21
7
17
14
6
11
5
13
22
12
4
1
3
1.40.6/01
home
19
15
16
2
9
8
FIT
1:1
100%

Артикул

Название

Примечание

Количество

1

87529787

KNUCKLE

ASSY. RH, Serial Range: -C6449

1шт.

1

84197134

KNUCKLE

ASSY. RH, Start Serial: D6449

1шт.

2

87529864

KNUCKLE

ASSY. LH, Serial Range: -C6449

1шт.

2

84197105

KNUCKLE

ASSY. LH, Start Serial: D6449

1шт.

3

87525550

BUSHING,42.1mm ID x 46.13mm OD x 28mm L

42 x 46 x 28

2шт.

4

14274534

LOCK BOLT,Hex, M12 x 1.25 x 30mm, Cl 10.9, Full Thd

12шт.

5

87333763

BALL STUD

BALL PIN

2шт.

6

87361688

BALL STUD

BALL PIN

1шт.

7

5137456

SHIM,56.5mm ID x 97mm OD x 0.1mm Thk

1шт.

7

5137457

SHIM,56.5mm ID x 97mm OD x 0.15mm Thk

1шт.

7

5137458

SHIM,56.5mm ID x 97mm OD x 0.2mm Thk

0.20MM

1шт.

7

5137459

SHIM,56.5mm ID x 97mm OD x 0.25mm Thk

0.25MM

1шт.

7

5137460

SHIM,56.5mm ID x 97mm OD x 0.3mm Thk

0.30MM

1шт.

8

10717624

THIN NUT,Thin, M18 x 2.5, Cl 05

2шт.

9

87325678

SCREW,M18 x 60mm

, Serial Range: -C5954

2шт.

9

87751873

SCREW,M18 x 105mm, Cl 10.9

, Start Serial: D5954

2шт.

11

5119699

SPHERICAL BEARING,30.16mm ID x 64.29mm OD x 21.43mm W

3шт.

12

87355801

SEAL,190mm ID x 220mm OD x 17mm Thk

190X220X15/17

2шт.

13

5133737

ROLLER BEARING,109.5mm ID x 158.75mm OD x 23mm W

109.538x158.750x23.02

4шт.

14

10278340

PLUG,M28 x 1.5 x 11, Brass

2шт.

15

87529978

HUB

ASSY, Incl. 16, 17

2шт.

16

4985063

DOWEL,12mm OD x 20mm L

4шт.

17

87678013

NUT,M16 x 1.5

16шт.

18

47137702

SEAL,56mm ID x 70mm OD x 10mm Thk

1шт.

19

87380329

SEALING WASHER,28.00mm ID x 38.00mm OD x 1.50mm

28MM

2шт.

20

87382577

BALL STUD

BALL PIN

1шт.

21

47137677

SPH ROLLER BEARING,30.16mm ID x 64.29mm OD x 21.43mm W

1шт.

22

87618916

STUD

16шт.

Выбрано товаров: 28