Запчасти Case IH PUMA 130 (35.124.01[01]) - VAR - 332923 - TOP LINK - CAT 2/3, QUICK ATTACH W/ HYDRAULIC ADJUST - C7395 (35) - HYDRAULIC SYSTEMS

Схема запчастей Case IH PUMA 130 - (35.124.01[01]) - VAR - 332923 - TOP LINK - CAT 2/3, QUICK ATTACH W/ HYDRAULIC ADJUST - C7395 (35) - HYDRAULIC SYSTEMS
7
10
4
10
3
10
home
10
10
10
1
5
10
6
9
8
2
FIT
1:1
100%

Артикул

Название

Примечание

Количество

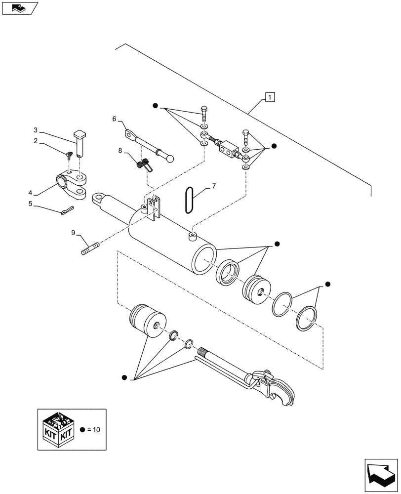
1

47134362

UPPER LINK

ASSY, Incl 2 - 10

1шт.

2

13407811

LUBE NIPPLE,Angled - 45 Degree, M10 x 1 x 27.00mm

1шт.

3

5161789

PIN,34mm OD x 91mm L

1шт.

4

5161787

YOKE,28mm D x 28mm D

1шт.

5

10797801

COTTER PIN,M6.3 x 50.00mm

1шт.

6

5172394

LEVER

1шт.

7

14471280

O-RING,0.21" Thk x 1.975" ID, -329, Cl 5, 75 Duro

1шт.

8

47134489

SPRING

1шт.

9

14613871

COTTER PIN

1шт.

10

47134488

TOP LINK

1шт.

Выбрано товаров: 10