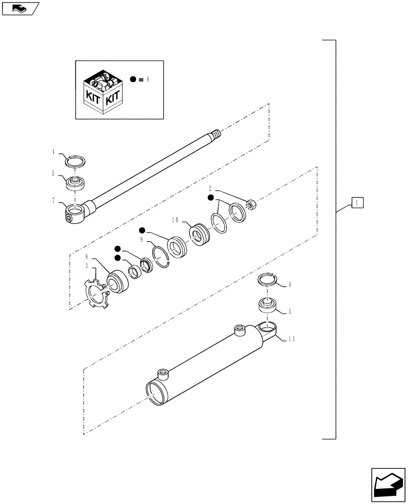
Запчасти Case IH PUMA 130 (41.216.05) - CL.3 FRONT AXLE - HYDRAULIC STEERING CYLINDER - BREAKDOWN (41) - STEERING

Схема запчастей Case IH PUMA 130 - (41.216.05) - CL.3 FRONT AXLE - HYDRAULIC STEERING CYLINDER - BREAKDOWN (41) - STEERING
1
9
6
10
6
4
7
6
5
3
8
6
11
2
home
4
5
6
6
FIT
1:1
100%

Артикул

Название

Примечание

Количество

1

87521950

SERVO STEERING CYL

Incl 2 -11

2шт.

2

5190904

LOCK NUT

2шт.

3

5190907

SNAP RING

2шт.

4

5190903

LOCKING RING

4шт.

5

5190901

BUSHING

4шт.

6

84121150

SEAL KIT

Kit

1шт.

7

NSS

NOT SOLD SEPARAT

Rod, Incl in 1

1шт.

8

NSS

NOT SOLD SEPARAT

Gland, Incl in 1

1шт.

9

NSS

NOT SOLD SEPARAT

Ring, Incl in 1

1шт.

10

NSS

NOT SOLD SEPARAT

Piston, Incl in 1

1шт.

11

NSS

NOT SOLD SEPARAT

Cylinder Barrel, Incl in 1

1шт.

Выбрано товаров: 11