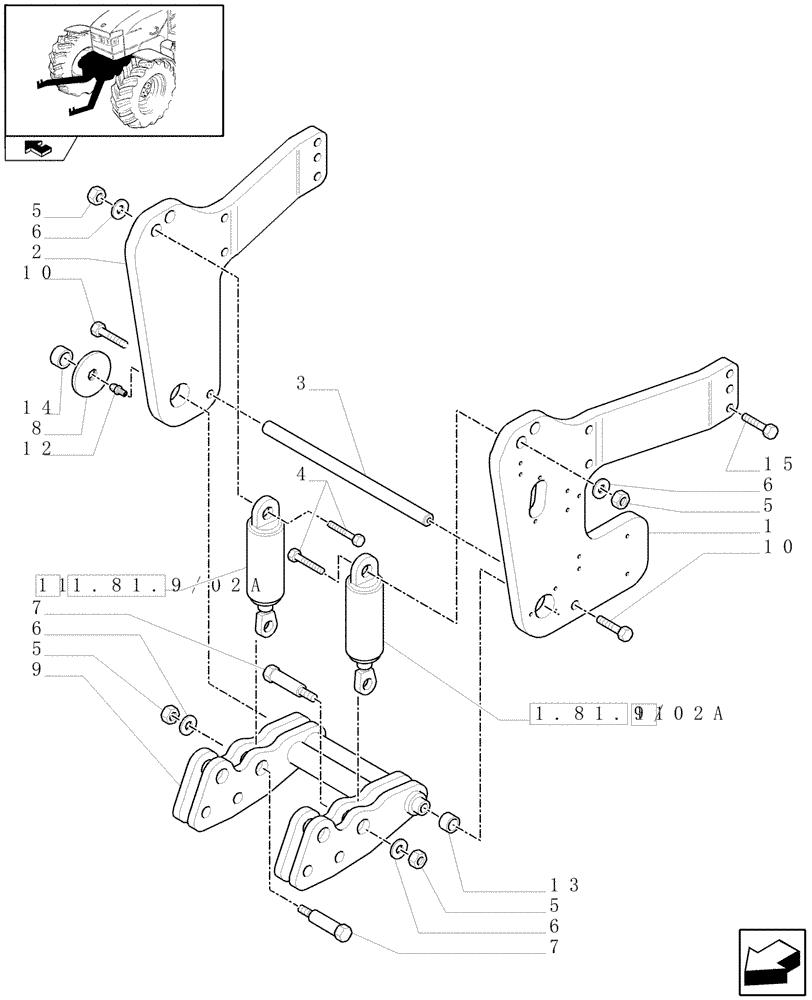
Запчасти Case IH PUMA 140 (1.81.9/02[01]) - NOT INTEGRATED FRONT HPL WITH 6 SPLINES PTO - SUPPORTS, SUSPENSION ARMS AND CYLINDERS - C6335 (VAR.330813) (07) - HYDRAULIC SYSTEM

Схема запчастей Case IH PUMA 140 - (1.81.9/02[01]) - NOT INTEGRATED FRONT HPL WITH 6 SPLINES PTO - SUPPORTS, SUSPENSION ARMS AND CYLINDERS - C6335 (VAR.330813) (07) - HYDRAULIC SYSTEM
8
5
6
5
1.81.9/02a
1.81.9/02a
11
7
15
14
7
4
10
6
12
1
5
13
6
5
10
2
9
6
3
11
FIT
1:1
100%

Артикул

Название

Примечание

Количество

1

47133191

BRACKET

LH, Incl. 13

1шт.

2

47126287

BRACKET

RH, Incl. 8, 12-14

1шт.

3

5196421

TIE-ROD

1шт.

4

5196438

PIN,29.98mm OD x 170mm L

2шт.

5

12164311

NUT,Hex, M20 x 1.5

4шт.

6

83999829

WASHER,20mm ID x 44.75mm OD x 5.88mm Thk

4шт.

7

5195380

PIN,34.88mm OD x 114.5mm L

2шт.

8

5196790

PLUG

1шт.

9

5198404

YOKE

1шт.

10

15988321

BOLT,Hex, M20 x 1.5 x 60mm, Cl 8.8

4шт.

11

47126298

LIFT CYLINDER,Double Acting, 42mm Rod, 164mm Stroke

ASSY

2шт.

12

13407211

LUBE NIPPLE,M10 x 1

1шт.

13

5196789

BUSHING

2шт.

14

5192007

PLATE

1шт.

15

15224021

BOLT,Hex, M20 x 65mm, Cl 8.8, Full Thd

8шт.

Выбрано товаров: 15