Запчасти Case IH PUMA 140 (1.81.9/02A) - FRONT HYDRAULIC LIFT - HYDRAULIC CYLINDER - BREAKDOWN (VAR.330813) (07) - HYDRAULIC SYSTEM

Схема запчастей Case IH PUMA 140 - (1.81.9/02A) - FRONT HYDRAULIC LIFT - HYDRAULIC CYLINDER - BREAKDOWN (VAR.330813) (07) - HYDRAULIC SYSTEM
5
2
2
2
1
3
5
2
home
2
2
4
FIT
1:1
100%

Артикул

Название

Примечание

Количество

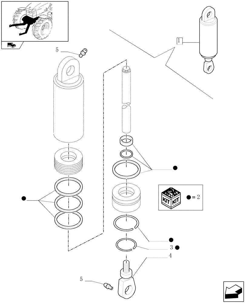
1

47126298

LIFT CYLINDER,Double Acting, 42mm Rod, 164mm Stroke

1шт.

2

47126886

SEAL KIT

MISC

1шт.

3

47126885

RING

1шт.

4

47126884

ROD

1шт.

5

5197863

LUBE NIPPLE,M6 x 1

2шт.

Выбрано товаров: 5