Запчасти Case IH PUMA 140 (1.21.0[01]) - TRANSMISSION 18X6 OR 19X6 - CLUTCH BOX AND RELATED PARTS (03) - TRANSMISSION

Схема запчастей Case IH PUMA 140 - (1.21.0[01]) - TRANSMISSION 18X6 OR 19X6 - CLUTCH BOX AND RELATED PARTS (03) - TRANSMISSION
5
10
16
3
19
1
18
14
13
20
8
12
home
1.75.0 04
1.75.0 04
1
6
4
17
1
15
11
7
1
9
2
1
2
FIT
1:1
100%

Артикул

Название

Примечание

Количество

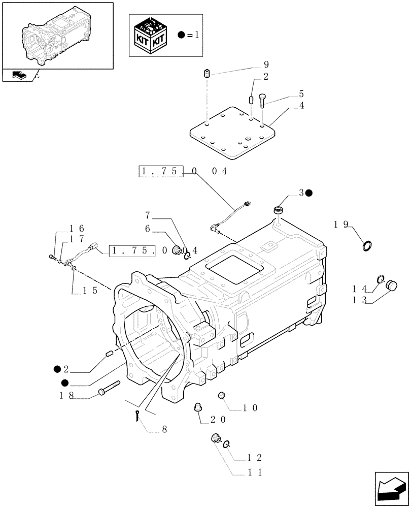
1

84248416

TRANSMISSION HOUSING

1шт.

2

5153109

DOWEL,10mm OD x 15mm L

4шт.

Q.ty=2 for Reference 1

1шт.

3

14328701

PLUG,M20, Tapered

1шт.

4

5186785

COVER

1шт.

5

15970724

SCREW,Hex, M10 x 1.25 x 25mm, Cl 8.8, Full Thd

8шт.

6

10119311

PLUG,M16 x 1.5 x 12, Cl5.8

3шт.

7

14437885

O-RING,13.30mm ID x 2.40mm

3шт.

8

412687

COTTER PIN,6.3mm OD x 32mm OAL

2шт.

9

14324011

PLUG,Taper Pipe, Sq Hd, M10 x 1 x 14mm, Cl 5.8

1шт.

10

14328701

PLUG,M20, Tapered

2шт.

10

14328501

PLUG,M16, Tapered

1шт.

11

10118811

PLUG,M22 x 1.5 x 14, Cl5.8

1шт.

12

14438085

O-RING,19.3mm ID x 2.4mm

1шт.

13

10273140

PLUG,Hex Skt, M18 x 1.5

1шт.

14

10259960

SEAL,Rectangular, 18.30mm ID x 24.00mm OD x 1.50mm, Copper

1шт.

15

5135738

O-RING,0.103" Thk x 0.674" ID, -115, 80 Duro

2шт.

16

14305773

SCREW,M6 x 14mm

2шт.

17

12601279

WAVE WASHER,6.40mm ID x 12mm OD x 0.50mm, 2.60mm H, STL, ZND

2шт.

18

15981234

BOLT,Hex, M16 x 1.5 x 65mm, Cl 10.9

1шт.

18

11254134

SCREW,Hex, M16 x 1.5 x 80mm, Cl 10.9

4шт.

18

15982131

BOLT,Hex, M16 x 1.5 x 140mm, Cl 10.9

4шт.

18

15982334

BOLT,Hex, M16 x 1.5 x 150mm, Cl 10.9

2шт.

19

272470

O-RING,0.103" Thk x 1.549" ID, -129, Cl 5, 75 Duro

4шт.

20

5145574

PLUG,M7 X 12.5mm

1шт.

Waterproofing, VAR.330448-336449

1шт.

Выбрано товаров: 26