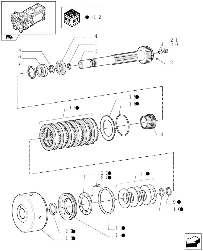
Запчасти Case IH PUMA 140 (1.28.7/02[05]) - SEMI POWER SHIFT (40KM/H) "ECONOMY" - DRIVEN SHAFT & "E" CLUTCH (VAR.331291) (03) - TRANSMISSION

Схема запчастей Case IH PUMA 140 - (1.28.7/02[05]) - SEMI POWER SHIFT (40KM/H) "ECONOMY" - DRIVEN SHAFT & "E" CLUTCH (VAR.331291) (03) - TRANSMISSION
12
17
3
15
12
home
20
4
1
10
19
12
13
12
16
22
6
9
12
12
11
12
5
12
23
12
12
14
8
12
2
7
18
12
12
21
12
FIT
1:1
100%

Артикул

Название

Примечание

Количество

1

11059076

SNAP RING,M32, Int

1шт.

2

5162260

PLUG,Round, 10.5mm OD

3шт.

3

5180808

MAIN SHAFT

ASSY, Incl. 1, 2

1шт.

4

5138418

TAPERED BEARING,50mm ID x 110mm OD x 29.25mm W

1шт.

5

5162261

SPACER,50.1mm ID x 60mm OD x 4mm L

1шт.

6

5162622

BALL BEARING,50mm ID x 80mm OD x 32mm W

1шт.

7

5162623

CIRCLIP,80mm ID

1шт.

8

47126212

GEAR,39T, 52T

5/6 Speed

1шт.

9

5175981

CIRCLIP,1.5mm Thk

1шт.

10

5164928

RETAINER CUP,60mm ID x 70mm OD x 3mm Thk

1шт.

11

87547948

BELLEVILLE SPRING,60.8mm ID x 95mm OD x 2.3mm Thk

5шт.

12

87730418

CLUTCH PACK

ASSY

1шт.

13

5138955

GASKET,134.55mm ID x 142.06mm OD x 3.2mm Thk

1шт.

14

87709752

PISTON

1шт.

15

47132782

SNAP RING,3mm Thk, Int

1шт.

16

87530788

CLUTCH PACK

1шт.

17

5162252

GASKET,68mm ID x 75.5mm OD x 3.2mm Thk

1шт.

18

47132786

CLUTCH HOUSING

5/6 Speed

1шт.

19

47132780

THRUST PLATE,60T, 154.75mm OD

1шт.

20

5166039

SLEEVE,13.75mm ID x 25mm OD x 18mm L

1шт.

21

5135738

O-RING,0.103" Thk x 0.674" ID, -115, 80 Duro

2шт.

22

87709753

RING,61mm ID x 65.5mm OD x 0.5mm Thk

1шт.

23

14440521

SCREW,Flat Csk Hd, M5 x 10mm, Cl 8.8

4шт.

Выбрано товаров: 23