Запчасти Case IH PUMA 140 (1.32.5/02[02]) - SEMI POWER SHIFT (50KM/H) - HYDRAULIC CENTRAL SPLITTER (VAR.331247) (03) - TRANSMISSION

Схема запчастей Case IH PUMA 140 - (1.32.5/02[02]) - SEMI POWER SHIFT (50KM/H) - HYDRAULIC CENTRAL SPLITTER (VAR.331247) (03) - TRANSMISSION
9
8
home
7
1
3
6
7
8
10
9
5
9
2
9
9
9
4
11
FIT
1:1
100%

Артикул

Название

Примечание

Количество

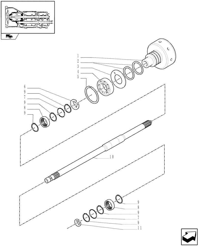
1

87718795

BELL HOUSING

1шт.

2

5131232

OIL SCRAPER RING,Split, 83.02mm ID x 90mm OD x 2.22mm Thk

SEALRING

2шт.

3

87593180

THRUST BEARING,61mm ID x 89.5mm OD x 1mm Thk

1шт.

4

87594023

BALL BEARING,60 mm ID x 95 mm OD x 18 mm

1шт.

5

11062676

SNAP RING,M95, Int

1шт.

6

11069876

SNAP RING,M60, Ext

1шт.

7

87308921

GASKET,4mm Thk, 42mm OD

2шт.

8

87308922

NEEDLE BEARING,35mm ID x 42mm OD x 18mm W

2шт.

9

5124473

SNAP RING,1.5mm Thk, Int

D=42

6шт.

10

87588697

CONTROL SHAFT,752mm L

PTO

1шт.

11

11068876

SNAP RING,M40, Ext

1шт.

Выбрано товаров: 11