Качественные детали и логистика
Оригинальные и аналоговые запчасти с доставкой по России, Казахстану и Беларуси
©2022 PartSell ООО "Система" ИНН 2463123282 ОГРН 1212400004838
Центральный офис: г. Красноярск, Академика Киренского, д.87, пом.4
Телефон: 8 (800) 777-65-74 Email: zakaz@partsell.ru
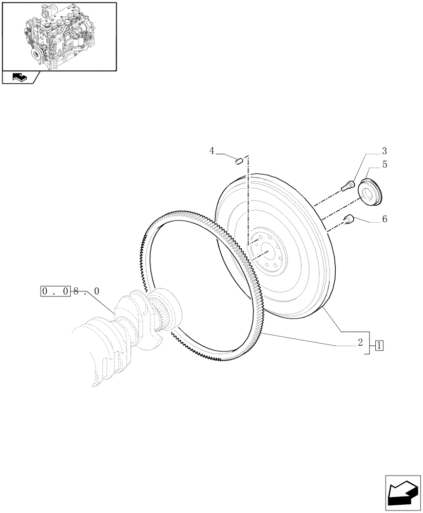
(0.08.3) - FLYWHEEL
№
Артикул
Название
Примечание
Количество
1
87300082
ENGINE FLYWHEEL
ASSY
1шт.
2
4895353
RING GEAR,127T, 15.88mm L
3
4894641
CAPTIVE WASHER SCREW,M12 X 1.25 X 31mm
8шт.
4
4892925
DOWEL,M10 X 15mm
5
87300110
BUSHING,20mm ID x 40mm OD x 14mm L
6
81800705
PIN,M7.893 X 13.97mm
4шт.
Выбрано товаров: 0