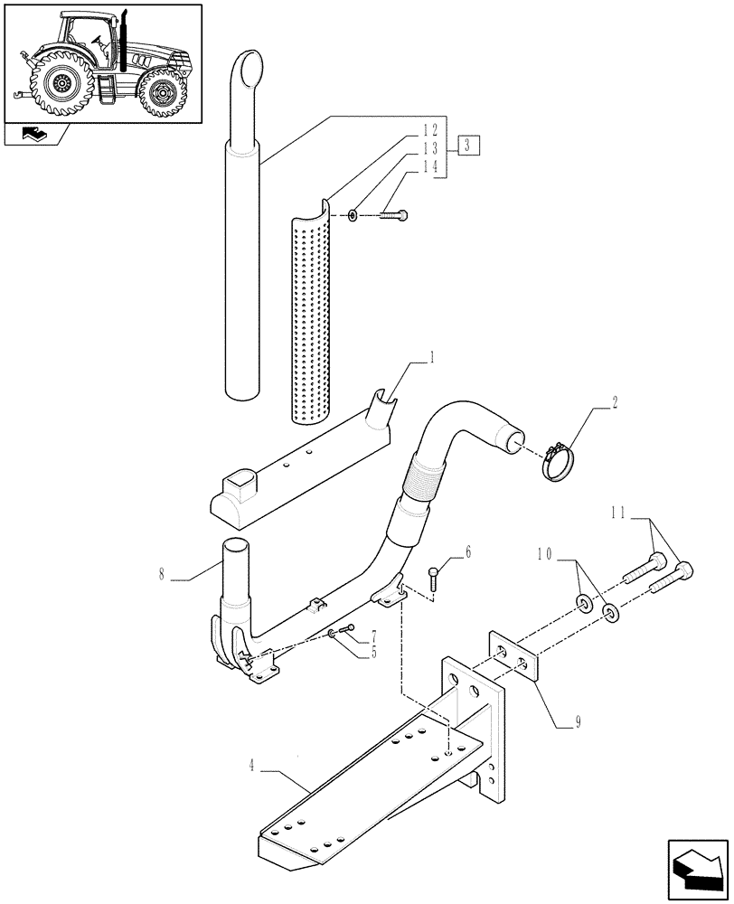
Запчасти Case IH PUMA 140 (1.15.1) - SILENCER (02) - ENGINE EQUIPMENT

Схема запчастей Case IH PUMA 140 - (1.15.1) - SILENCER (02) - ENGINE EQUIPMENT
7
9
13
home
12
2
6
14
11
1
5
10
8
4
3
FIT
1:1
100%

Артикул

Название

Примечание

Количество

1

84138205

SHIELD

1шт.

2

87524289

CLAMP,81mm

1шт.

3

87396433

MUFFLER,W/ Spark Arrester, Aspirated

1шт.

3

87356795

MUFFLER

1шт.

Air Cleaner with Pre-Cleaner "Spin Tube" for High Profile Roof, VAR.330189

1шт.

Puma 125, Puma 140

1шт.

4

84138204

SUPPORT

1шт.

5

12646704

WASHER,8.15mm ID x 20mm OD x 2mm Thk

4шт.

6

14432334

HEX SOC SCREW,M10 x 1.5 x 22mm, Cl 10.9, Full Thd

8шт.

7

16043424

SCREW,Hex, M8 x 1.25 x 20mm, Cl 8.8, Full Thd

5шт.

8

84138202

EXHAUST SYSTEM PIPE

1шт.

9

87569642

PLATE

1шт.

10

86511327

WASHER,21mm ID x 37mm OD x 3mm Thk

4шт.

11

11124874

BOLT,Hex, M20 x 55mm, Cl 12.9

4шт.

12

84203727

SHIELD

1шт.

13

10523401

WASHER,6.15mm ID x 18mm OD x 2mm Thk

8шт.

14

14759521

SCREW,M6 x 14mm

8шт.

Выбрано товаров: 17