Запчасти Case IH PUMA 145 (21.152.08[02]) - VAR - 743734, 331291, 743735, 331247 - SPS - SPEED GEARS AND CLUTCHES - "C" & "D" CLUTCHES (21) - TRANSMISSION

Схема запчастей Case IH PUMA 145 - (21.152.08[02]) - VAR - 743734, 331291, 743735, 331247 - SPS - SPEED GEARS AND CLUTCHES - "C" & "D" CLUTCHES (21) - TRANSMISSION
9
16
16
7
14
4
16
15
16
5
16
11
home
12
13
16
16
16
16
2
10
16
6
8
7
16
6
5
11
16
16
16
16
16
10
16
13
16
16
4
16
3
16
1
8
16
9
16
17
FIT
1:1
100%

Артикул

Название

Примечание

Количество

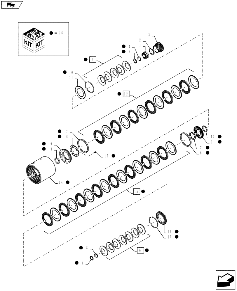
1

5162622

BALL BEARING,50mm ID x 80mm OD x 32mm W

1шт.

2

5162623

CIRCLIP,80mm ID

1шт.

3

5167830

DRIVEN GEAR,45T, 52T

III-IV SPEED

1шт.

4

5175981

CIRCLIP,1.5mm Thk

2шт.

5

5164928

RETAINER CUP,60mm ID x 70mm OD x 3mm Thk

2шт.

6

87547948

BELLEVILLE SPRING,60.8mm ID x 95mm OD x 2.3mm Thk

12шт.

7

5138955

GASKET,134.55mm ID x 142.06mm OD x 3.2mm Thk

2шт.

8

87709753

RING,61mm ID x 65.5mm OD x 0.5mm Thk

2шт.

9

87709752

PISTON

2шт.

10

47132782

SNAP RING,3mm Thk, Int

2шт.

11

47132780

THRUST PLATE,60T, 154.75mm OD

2шт.

12

87530788

CLUTCH PACK

1шт.

13

5162252

GASKET,68mm ID x 75.5mm OD x 3.2mm Thk

2шт.

14

47132827

CLUTCH HOUSING

1шт.

15

87530789

CLUTCH PACK

1шт.

16

87730396

CLUTCH PACK

1/2 - 3/4 Speed, Incl 4 - 15, 17

1шт.

17

14440521

SCREW,Flat Csk Hd, M5 x 10mm, Cl 8.8

8шт.

Выбрано товаров: 0