Запчасти Case IH PUMA 145 (37.100.04) - VAR - 330918 - SWINGING DRAWBAR FOR SLIDER TOW HOOK (37) - HITCHES, DRAWBARS & IMPLEMENT COUPLINGS

Схема запчастей Case IH PUMA 145 - (37.100.04) - VAR - 330918 - SWINGING DRAWBAR FOR SLIDER TOW HOOK (37) - HITCHES, DRAWBARS & IMPLEMENT COUPLINGS
7
15
12
home
3
1
8
11
4
14
16
10
5
6
9
13
2
FIT
1:1
100%

Артикул

Название

Примечание

Количество

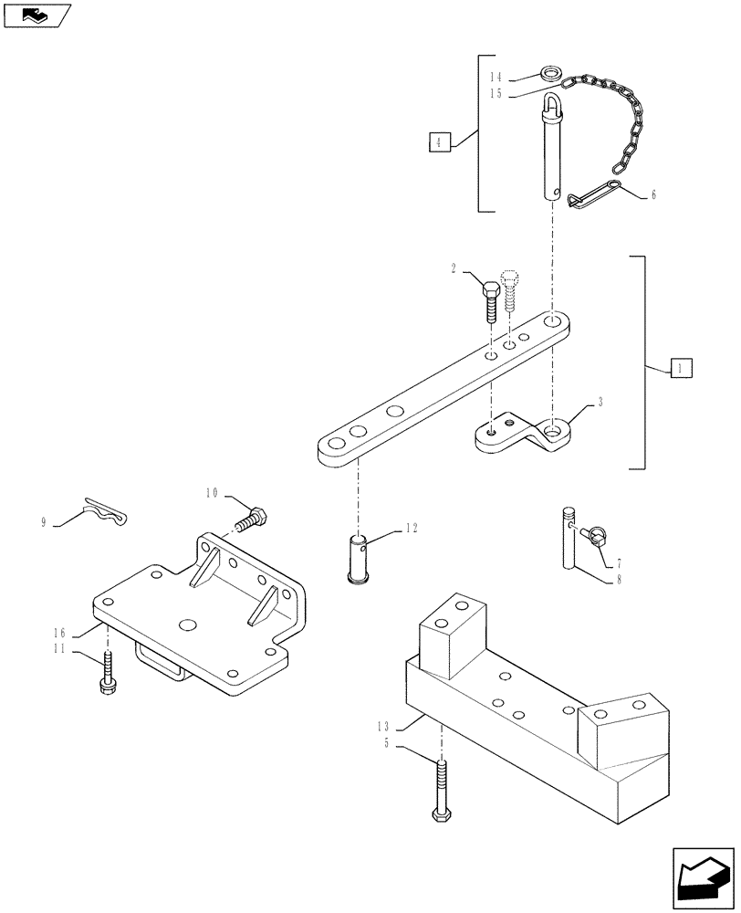
1

87566049

DRAWBAR

Incl 2, 3

1шт.

2

11125234

SCREW,Hex, M20 x 75mm, Cl 10.9

2шт.

3

82026931

SUPPORT,254mm L x 75mm W x 30mm Thk, 70mm Offset

1шт.

4

87579063

HITCH PIN,32mm OD x 182mm L

Incl 6, 14, 15

1шт.

5

16041834

BOLT,Hex, M20 x 2.5 x 130mm, Cl 10.9

4шт.

6

5152004

HAIR PIN COTTER,195mm L

1шт.

7

82014909

LOCK PIN,5.5mm OD

2шт.

8

82015207

PIN,16mm OD x 141mm L

2шт.

9

82000094

SPRING,40mm OD x 142mm L

1шт.

10

16220874

BOLT,Hex, M18 x 1.5 x 45mm, Cl 12.9

2шт.

11

87558079

BOLT,Flng, M18 x 1.5 x 125mm, Cl 12.9

4шт.

12

87558077

PIN,32mm OD x 102mm L

1шт.

13

82032958

SUPPORT

1шт.

14

44901192

SNAP RING,25mm ID

2шт.

15

596063

LINK CHAIN,13 Links x 18mm = 234mm L

1шт.

16

87642177

SUPPORT

1шт.

Выбрано товаров: 16