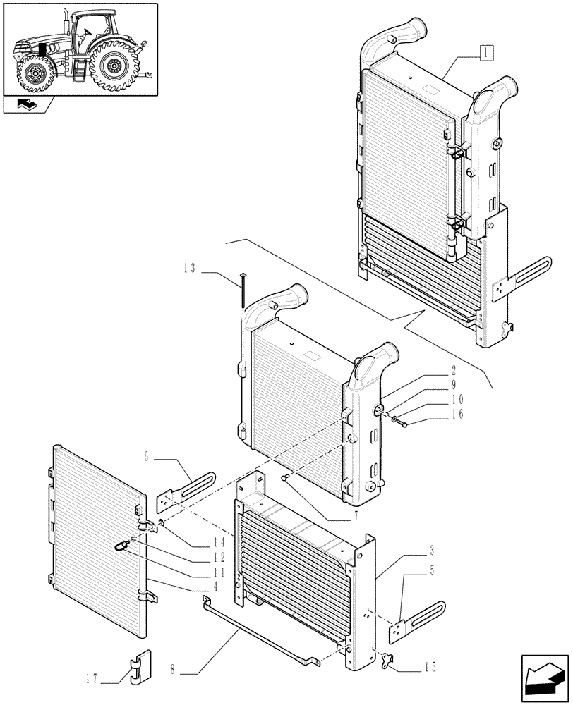
Запчасти Case IH PUMA 155 (1.17.0/01A) - INTERCOOLER, TRANSM. OIL COOLER AND AIR CONDITIONING CONDENSER - BREAKDOWN (02) - ENGINE EQUIPMENT

Схема запчастей Case IH PUMA 155 - (1.17.0/01A) - INTERCOOLER, TRANSM. OIL COOLER AND AIR CONDITIONING CONDENSER - BREAKDOWN (02) - ENGINE EQUIPMENT
11
6
home
3
15
9
8
5
16
1
2
10
14
13
4
17
7
12
FIT
1:1
100%

Артикул

Название

Примечание

Количество

1

84249165

COOLER ASSY.

ASSY

1шт.

2

84154154

AFTERCOOLER

1шт.

3

84249166

COOLER ASSY.

1шт.

4

84249272

CONDENSER

1шт.

5

84137493

BRACKET

RH

1шт.

6

84137552

BRACKET

LH

1шт.

7

87620057

KNOB

1шт.

8

84137570

HANDLE

1шт.

9

87385194

ROLLER BEARING,8mm ID x 16mm OD x 5mm W

2шт.

10

84137491

WASHER,50.8mm ID

2шт.

11

87734728

STUD,5mm OD x 56mm L

2шт.

12

84137543

SNAP RING

2шт.

13

87658579

PIN

1шт.

14

87734730

SPRING CLIP

2шт.

15

84249161

CATCH PLATE

1шт.

16

84137544

BOLT,Countersunk , M8 x 20mm

2шт.

17

84249169

DEFLECTOR

2шт.

Выбрано товаров: 17