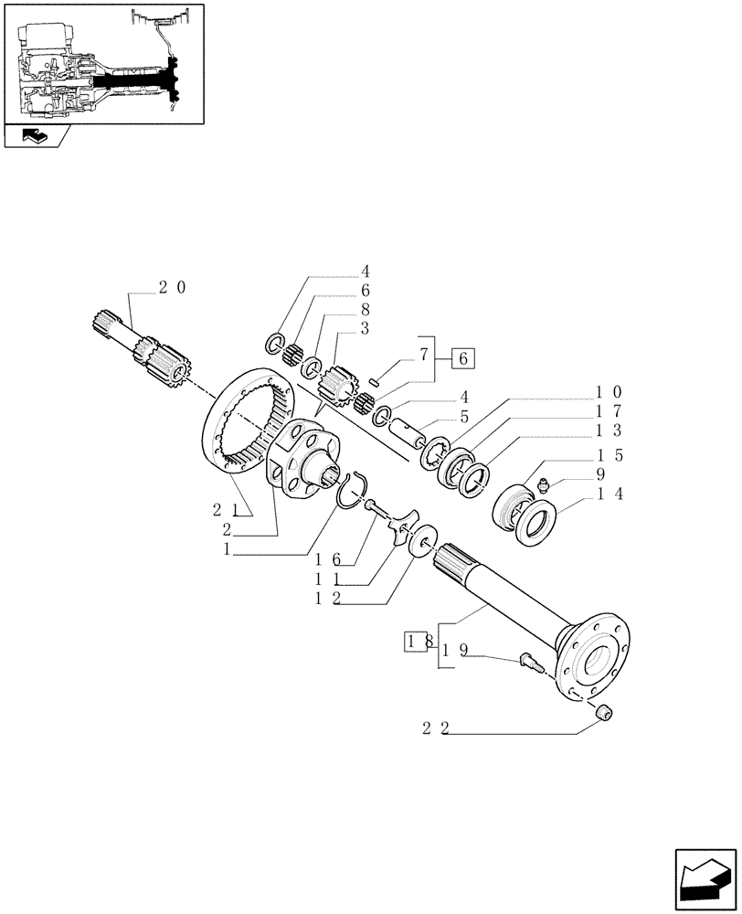
Запчасти Case IH PUMA 155 (1.48.1/01) - FINAL DRIVE, GEARS AND SHAFTS (05) - REAR AXLE

Схема запчастей Case IH PUMA 155 - (1.48.1/01) - FINAL DRIVE, GEARS AND SHAFTS (05) - REAR AXLE
13
8
22
10
home
14
9
3
6
4
21
12
1
15
19
5
17
20
2
11
4
7
18
16
6
FIT
1:1
100%

Артикул

Название

Примечание

Количество

1

5136132

CIRCLIP,4mm Thk

2шт.

2

87573468

PINION CARRIER

GEAR CARRIER

2шт.

3

87573467

PLANETARY GEAR,36T

6шт.

4

5136128

THRUST WASHER,62.5mm ID x 108mm OD x 1mm Thk

12шт.

5

5136130

PIN,62.4mm OD x 134mm L

6шт.

6

5136131

ROLLER BEARING,62.4mm ID x 76.4mm OD x 32mm W

6шт.

7

5116733

NEEDLE ROLLER,62.4mm ID x 76.4mm OD x 0mm W

62шт.

8

87573466

SPACER,64.5mm ID x 76.3mm OD x 9mm L

6шт.

9

13407211

LUBE NIPPLE,M10 x 1

2шт.

10

5121644

THRUST WASHER,78mm ID x 112mm OD x 5mm Thk

2шт.

11

5165502

COVER PLATE

2шт.

12

5165501

DISC,18.5mm ID x 95mm OD x 8.5mm Thk

2шт.

13

5165505

SEAL,88mm ID x 110mm OD x 12mm Thk

88 x 110 x 12

2шт.

14

5165506

SEAL,112mm ID x 140mm OD x 16mm Thk

2шт.

15

24903700

ROLLER BEARING,90mm ID x 140mm OD x 32mm W

2шт.

16

15984334

BOLT,Hex, M18 x 1.5 x 50mm, Cl 10.9, Full Thd

2шт.

17

24903500

TAPERED BEARING,85mm ID x 130mm OD x 29mm W

85 x 130 x 29

2шт.

18

87679488

DRIVE SHAFT,29T

98"

2шт.

19

87651028

STUD,Wheel, M18 x 1.5 x 65mm, Cl 10.9

16шт.

20

5165497

CONTROL SHAFT,14T, 36T

RH

1шт.

20

5165498

CONTROL SHAFT,14T, 36T

LH

1шт.

21

5165495

RING GEAR,88T, 60mm L

2шт.

22

87651026

NUT,M18, 1.5mm Pitch, Captive Wshr

M18 x 1.5

16шт.

Выбрано товаров: 23