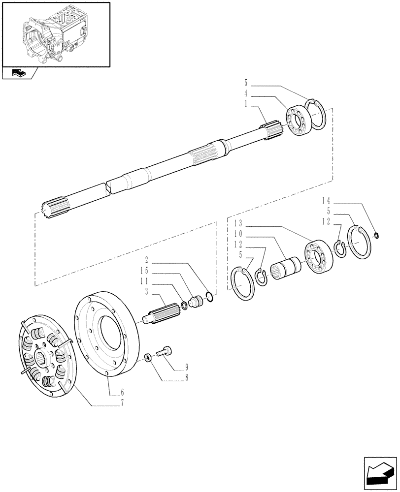
Запчасти Case IH PUMA 165 (1.25.3) - DAMPER AND TRANSMISSION/PTO INPUT SHAFT (03) - TRANSMISSION

Схема запчастей Case IH PUMA 165 - (1.25.3) - DAMPER AND TRANSMISSION/PTO INPUT SHAFT (03) - TRANSMISSION
7
4
15
8
6
11
14
5
home
12
3
12
5
5
2
13
9
1
10
FIT
1:1
100%

Артикул

Название

Примечание

Количество

1

5197516

SHAFT

PTO

1шт.

2

14463681

O-RING,31.34mm ID x 3.53" Width

1шт.

3

87314183

PTO SHAFT,14T, 120mm L

1шт.

4

5188843

BALL BEARING,40 mm ID x 90 mm OD x 23 mm

1шт.

5

11062476

SNAP RING,M90, Int

3шт.

6

47125891

ENGINE FLYWHEEL

1шт.

7

87542609

DAMPER,348mm OD

1шт.

7

87542609R

REMAN-CLUTCH PLATE

1шт.

7

87542609C

CORE-CLUTCH PLATE

Return Number

1шт.

8

11198674

BELLEVILLE WASHER,M12 Bolt Size x 24mm OD x 3.2mm Thk

8шт.

9

16208430

BOLT,Hex, M12 x 1.25 x 65mm, Cl 10.9

8шт.

10

5195206

SPLINED COUPLING,11T

1шт.

11

11059076

SNAP RING,M32, Int

1шт.

12

11069376

SNAP RING,M50, Ext

2шт.

13

26794660

BALL BEARING,50.00mm x 90.00mm x 20.00mm

50 x 90 x 20 mm

1шт.

14

11058676

SNAP RING,M28, Int

1шт.

15

87314222

PLUG,M8 x 1.25

1шт.

Выбрано товаров: 17