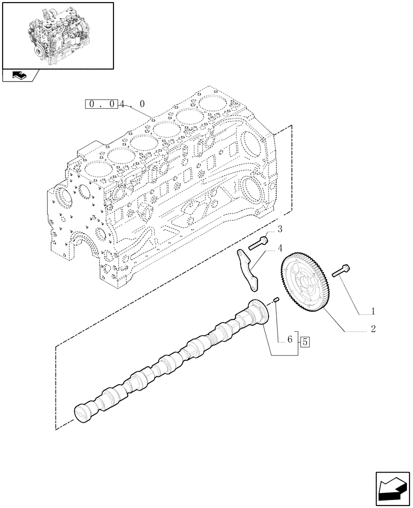
Запчасти Case IH PUMA 165 (0.12.0) - CAMSHAFT - TIMING CONTROL (01) - ENGINE

Схема запчастей Case IH PUMA 165 - (0.12.0) - CAMSHAFT - TIMING CONTROL (01) - ENGINE
6
home
2
4
5
0.04.0
1
3
FIT
1:1
100%

Артикул

Название

Примечание

Количество

1

4899079

SCREW,Hex Flg, M8 x 1.25 x 25

6шт.

2

2854823

GEAR

1шт.

3

4899068

BOLT,Flng, M8 x 1.25 x 16mm

2шт.

4

4897457

SUPPORT

1шт.

5

2854604

CAMSHAFT

ASSY

1шт.

2854604R

REMAN-CAMSHAFT

PUMA 165, PUMA 210, PUMA 195, PUMA 210, all SN Z*BE 40001 - 50000 AND 60001 - (1/09-)

1шт.

2854604C

CORE-CAMSHAFT

Return Number

1шт.

6

4899080

DOWEL,M6 x 8 L

1шт.

Выбрано товаров: 8