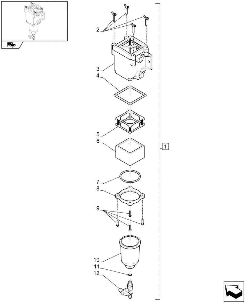
Запчасти Case IH PUMA 165 (1.14.6/ B) - (VAR.414) FUEL FILTER/WATER SEPARATOR - BREAKDOWN (02) - ENGINE EQUIPMENT

Схема запчастей Case IH PUMA 165 - (1.14.6/ B) - (VAR.414) FUEL FILTER/WATER SEPARATOR - BREAKDOWN (02) - ENGINE EQUIPMENT
6
9
8
12
1
11
10
home
5
7
3
2
4
FIT
1:1
100%

Артикул

Название

Примечание

Количество

1

87346728

FUEL FILTER

Water Separator, ASSY, Incl 2 - 12

1шт.

2

87625617

THUMB SCREW

Wing, M5 x 30mm, ZND

4шт.

3

NSS

NOT SOLD SEPARAT

Housing, Incl in 1

1шт.

4

336432A1

GASKET

Square

1шт.

5

336431A1

FRAME

1шт.

6

336430A1

FUEL FILTER

30 Microns

1шт.

7

336433A1

SEAL,70mm ID x 78mm OD x 3mm Thk

1шт.

8

369841A1

RETAINER

1шт.

9

614-5020

BOLT,Hex, M5 x 0.8 x 20mm, Cl 8.8, Full Thd

4шт.

10

369842A1

FILTER BOWL

1шт.

11

369843A1

O-RING,2.5mm Thk x 10.5mm ID

1шт.

12

369844A1

DRAINCOCK/TAP SUPPLY

1шт.

Выбрано товаров: 12