Качественные детали и логистика
Оригинальные и аналоговые запчасти с доставкой по России, Казахстану и Беларуси
©2022 PartSell ООО "Система" ИНН 2463123282 ОГРН 1212400004838
Центральный офис: г. Красноярск, Академика Киренского, д.87, пом.4
Телефон: 8 (800) 777-65-74 Email: zakaz@partsell.ru
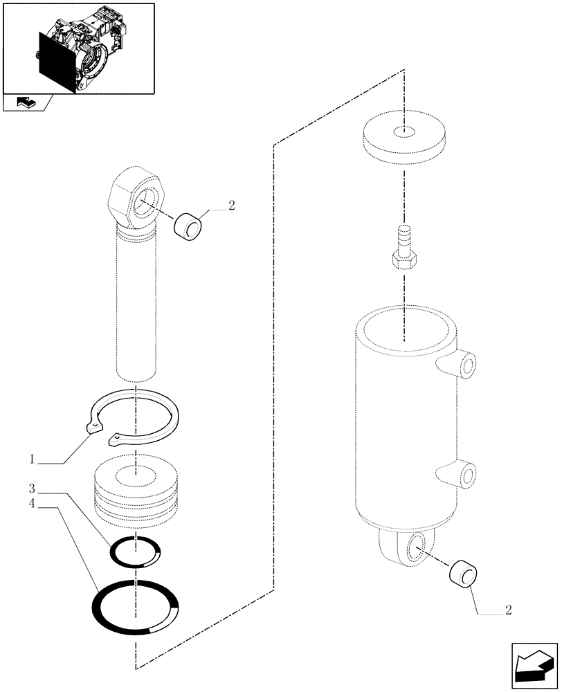
(1.82.6/ B) - HYDRAULIC POWER LIFT - CYLINDER - BREAKDOWN
№
Артикул
Название
Примечание
Количество
1
5198582
CIRCLIP
1шт.
2
5198652
BUSHING
2шт.
3
47131008
SEAL KIT
4
5198583
SNAP RING
Выбрано товаров: 0