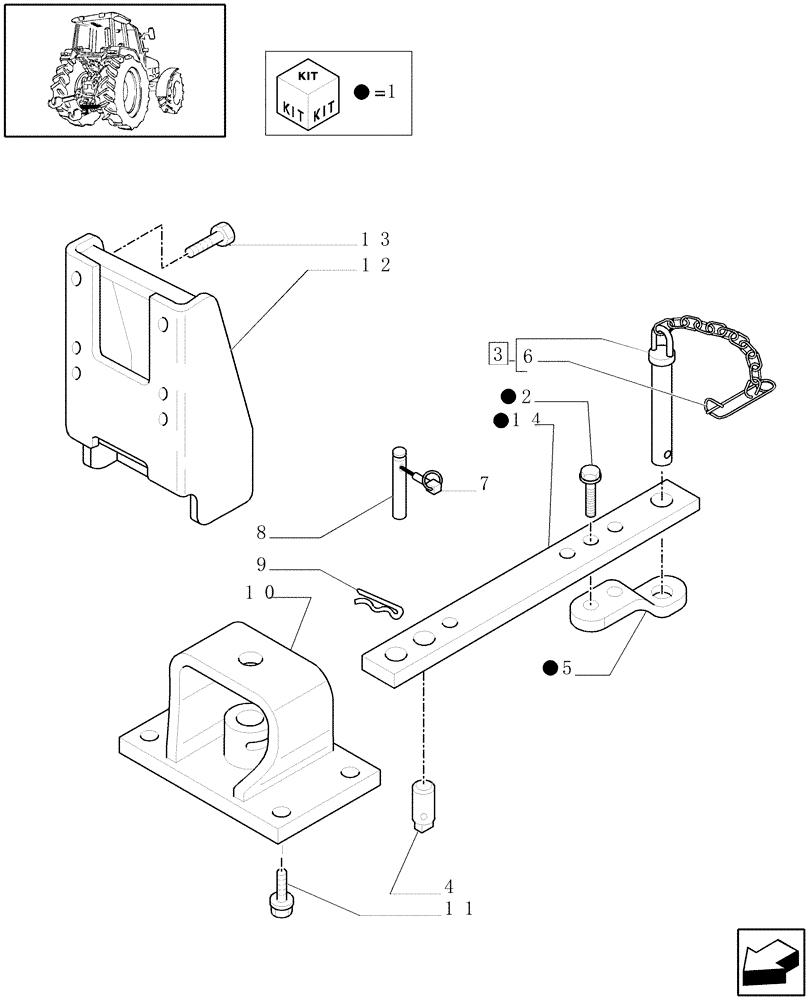
Запчасти Case IH PUMA 210 (1.89.0/02) - (VAR.912) INDIPENDENT SWINGING DRAWBAR W/CLEVIS (09) - IMPLEMENT LIFT

Схема запчастей Case IH PUMA 210 - (1.89.0/02) - (VAR.912) INDIPENDENT SWINGING DRAWBAR W/CLEVIS (09) - IMPLEMENT LIFT
11
7
5
2
12
6
9
10
1
1
8
1
1
1
4
13
14
3
FIT
1:1
100%

Артикул

Название

Примечание

Количество

1

87561337

DRAWBAR

ASSY

1шт.

2

11125234

SCREW,Hex, M20 x 75mm, Cl 10.9

2шт.

3

87579063

HITCH PIN,32mm OD x 182mm L

1шт.

4

87558069

PIN,32mm OD x 141.5mm L

1шт.

5

82026931

SUPPORT,254mm L x 75mm W x 30mm Thk, 70mm Offset

1шт.

6

5152004

HAIR PIN COTTER,195mm L

1шт.

7

82014909

LOCK PIN,5.5mm OD

2шт.

8

82015207

PIN,16mm OD x 141mm L

2шт.

9

82000094

SPRING,40mm OD x 142mm L

1шт.

10

87561334

HITCH BRACKET

1шт.

11

87561332

BOLT,Flng, M18 x 1.5 x 55mm, Cl 12.9

4шт.

12

82036512

FRAME

1шт.

13

16220874

BOLT,Hex, M18 x 1.5 x 45mm, Cl 12.9

6шт.

14

87561336

DRAWBAR,995mm L x 75mm W x 45mm Thk

1шт.

Выбрано товаров: 14