Запчасти Case IH PUMA 230 (10.202.AD) - DRY AIR FILTER - PIPES (10) - ENGINE

Схема запчастей Case IH PUMA 230 - (10.202.AD) - DRY AIR FILTER - PIPES (10) - ENGINE
10.250.ac
15
4
13
1
2
8
5
20
14
6
18
22
17
25
9
10
7
11
19
16
18
24
12
21
23
21
3
10.254.ai
FIT
1:1
100%

Артикул

Название

Примечание

Количество

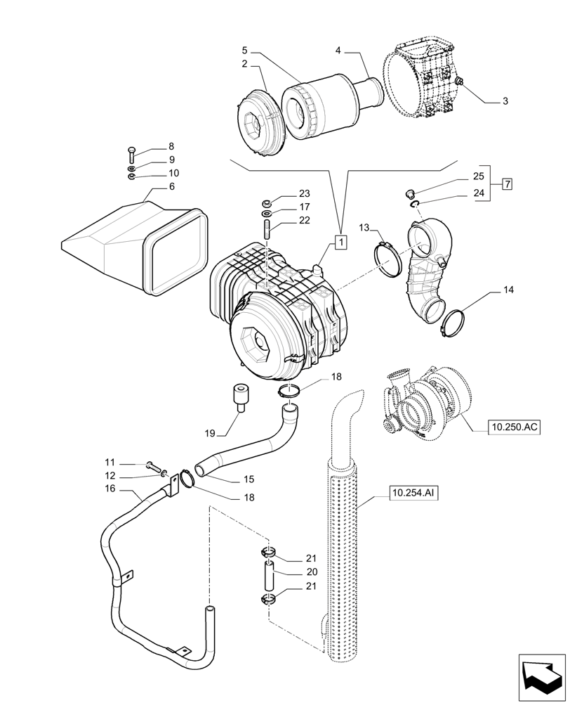
1

87517150

AIR FILTER,127mm ID x 347mm OD x 481.5mm L

Incl 2 - 5

1шт.

2

87517152

COVER

1шт.

3

5138821

INDICATOR

1шт.

4

87517153

AIR FILTER,142.3mm ID x 150.9mm OD x 258mm L

1шт.

5

87517154

AIR FILTER,281.6mm ID x 284.4mm OD x 319mm L

1шт.

6

87392872

DUCT

1шт.

7

47843187

DUCT

Incl 24, 25

1шт.

8

10902421

SCREW,Hex, M6 x 20mm, Cl 8.8

4шт.

9

14496401

WASHER,M6.4 x 12.00mm x 1.60mm

8шт.

10

15896211

NUT,M6, Cl 8

4шт.

11

16043221

BOLT,Hex, M8 x 16mm, Cl 8.8, Full Thd

3шт.

12

12646701

WASHER,8.15mm ID x 20mm OD x 2mm Thk

3шт.

13

82038745

CLAMP,130mm - 150mm

1шт.

14

82036460

HOSE CLAMP,110mm - 130mm, Worm Gear

1шт.

15

87399657

LARGE HOSE

1шт.

16

84340863

TUBE

1шт.

17

14496601

WASHER,10.5mm ID x 21mm OD x 2mm Thk

4шт.

18

82039347

HOSE CLAMP,35mm - 50mm, Worm Gear

2шт.

19

87344666

ISOLATOR

4шт.

20

82036395

FLEXIBLE HOSE,33.00 mm ID x 140.00 mm

1шт.

21

82036709

HOSE CLAMP,25mm - 40mm, Worm Gear

2шт.

22

81870144

STUD,M10 x 32

4шт.

23

11701711

NUT,Hex, M10, Cl 8, ZND

4шт.

24

87432275

CLAMP,31.5mm - 38mm

1шт.

25

82019459

PLUG,Polypropylene Air cleaner hose

1шт.

Выбрано товаров: 0