Запчасти Case IH PUMA1654 (90.150.AC[01]) - CAB FRAME (90) - PLATFORM, CAB, BODYWORK AND DECALS

Схема запчастей Case IH PUMA1654 - (90.150.AC[01]) - CAB FRAME (90) - PLATFORM, CAB, BODYWORK AND DECALS
11
5
4
15
17
16
4
14
2
8
10
12
9
3
2
6
2
13
1
2
7
FIT
1:1
100%

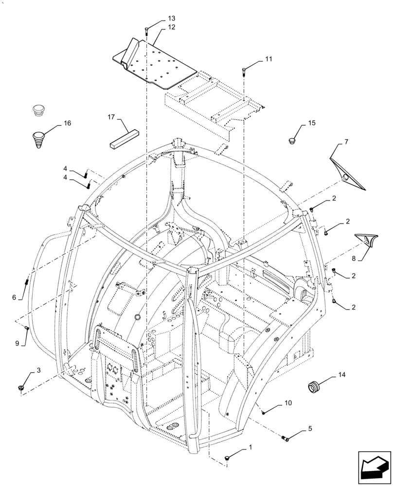
Артикул

Название

Примечание

Количество

1

82003283

PLUG,10.5mm OD

8шт.

2

82027697

BUSHING,9.5mm ID x 18mm OD x 17mm L

8шт.

3

82031549

BLANK-OFF PLUG,35mm OD, Black

3шт.

4

82024992

RIVET,Flng, 11mm OD x 19.5mm L

15шт.

5

82024991

NUT,M6

1шт.

6

82024990

RIVET,Flng, 7mm OD x 16mm L

2шт.

7

82036801

PLUG

1шт.

8

82036800

PLUG

1шт.

9

84214045

RIVET,Flat, M10 OD x 25.75mm L

3шт.

10

87716701

PLUG,Blanking, Snap, 6.40mm Dia

1шт.

11

9804258

BOLT,Hex, M8 x 1.25 x 20mm, Cl 8.8

6шт.

12

87399598

CAB FLOOR

1шт.

13

83929012

CAPTIVE WASHER SCREW,HWH, M6.3 x 1.8 x 20mm

12шт.

14

81862738

PLUG,M38 x 28 x 5mm

4шт.

15

84234592

PLUG,M20.7 x 10.5mm

2шт.

16

87716701

PLUG,Blanking, Snap, 6.40mm Dia

1шт.

17

82000180

SEALING STRIP

1шт.

Выбрано товаров: 17