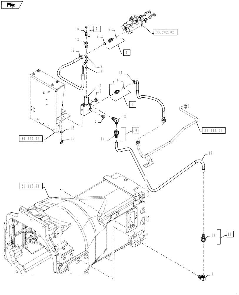
Запчасти Case IH PUMA 130 (33.204.05) - VAR - 330427, 330430 - FRONT AXLE - BRAKE VALVE & LINES (33) - BRAKES & CONTROLS

Схема запчастей Case IH PUMA 130 - (33.204.05) - VAR - 330427, 330430 - FRONT AXLE - BRAKE VALVE & LINES (33) - BRAKES & CONTROLS
8
4
11
2
12
10
2
6
3
7
10
6
home
5
9
3
1
14
10
14
16
90.100.02
5
21.116.01
4
33.204.06
33.202.02
9
13
15
FIT
1:1
100%

Артикул

Название

Примечание

Количество

1

47125483

VALVE

Front Brake

1шт.

2

10119311

PLUG,M16 x 1.5 x 12, Cl5.8

2шт.

3

82037643

HYD CONNECTOR

2шт.

4

82019693

HYD CONNECTOR,11/16" - 16 ORFS x M14 x 1.5 ORFS

Incl 5, 6

2шт.

5

82019811

SEAL,11.6mm ID x 16.5mm OD x 1.5mm Thk

2шт.

6

81844851

O-RING,0.07" Thk x 0.364" ID, -12, Cl 6, 90 Duro

2шт.

7

81874592

BLEEDER,M12 x 1 x 15.50mm

1шт.

8

81871475

CAP,4.7mm ID x 13mm OD x 10mm L

1шт.

9

5183780

SEALING WASHER,9.73mm ID x 18mm OD x 1.5mm Thk

2шт.

10

87475503

HOSE,1400.00mm

Front Brake Return, Incl 14, 17 & 18

1шт.

11

84255601

HOSE,670.00mm

Front Brake Feed

1шт.

12

84202497

HOSE,770.00mm

Master Cylinder to Front Brakes

1шт.

13

82018915

BANJO BOLT,M12 x 1 x 23mm

1шт.

14

87695284

END FITTING

2шт.

15

14496601

WASHER,10.5mm ID x 21mm OD x 2mm Thk

1шт.

16

11106021

BOLT,Hex, M10 x 1.5 x 20 mm, Cl 8.8, Full Thd

1шт.

Выбрано товаров: 16