Запчасти Case IH PUMA 130 (33.220.01[03]) - VAR - 330718 - HYDRAULIC TRAILER BRAKE (UNIVERSAL) , HYDRAULIC MANIFOLD, PIPE - C7113 (33) - BRAKES & CONTROLS

Схема запчастей Case IH PUMA 130 - (33.220.01[03]) - VAR - 330718 - HYDRAULIC TRAILER BRAKE (UNIVERSAL) , HYDRAULIC MANIFOLD, PIPE - C7113 (33) - BRAKES & CONTROLS
15
14
11
10
17
9
7
18
27.100.01 01
16
4
19
home
6
22
20
1
21
33.220.01 01
2
8
3
13
12
5
FIT
1:1
100%

Артикул

Название

Примечание

Количество

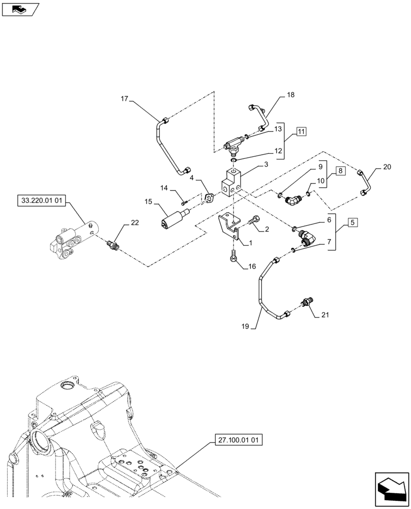
1

84141682

BRACKET

1шт.

2

14306621

HEX SOC SCREW,M8 x 35mm, Cl 8.8, Full Thd

2шт.

3

84141685

HYDRAULIC MANIFOLD

1шт.

4

5194826

BRACKET

1шт.

5

86579687

ELBOW,90 Degree, 11/16"-16 x M16 x 1.5 ORB

Incl 6, 7

1шт.

6

86598100

O-RING,2.2mm Thk x 13.3mm ID, Cl 6, 90 Duro

1шт.

7

9993141

O-RING,0.07" Thk x 0.364" ID, -12, Cl 6, 90 Duro

1шт.

8

84431522

ELBOW,90 Degree, 9/16"-18 ORFS x M12 x 1.5 ORB

Incl 9, 10

1шт.

9

86598098

O-RING,2.2mm Thk x 9.3mm ID, Cl 6, 90 Duro

1шт.

10

9825770

O-RING,0.07" Thk x 0.301" ID, -11, Cl 6, 90 Duro

1шт.

11

47136373

HYD CONNECTOR

Incl 12, 13

1шт.

12

14438085

O-RING,19.3mm ID x 2.4mm

1шт.

13

5185512

O-RING,0.07" Thk x 0.614" ID, -16, Cl 6, 90 Duro

2шт.

14

14305121

HEX SOC SCREW,M6 x 12mm, Cl 8.8

2шт.

15

84286799

SOLENOID VALVE,12V DC, 7.3Ohm

1шт.

16

10589621

SCREW,Hex Skt, M6 x 80mm, Cl 8.8

2шт.

17

84141688

PRESSURE PIPE

Front, Supply Services

1шт.

18

84141691

PRESSURE PIPE

Rear, Supply Services

1шт.

19

84141703

PRESSURE PIPE

Block Discharge

1шт.

20

84141705

PRESSURE PIPE

XP Port

1шт.

21

87349824

HYD CONNECTOR,10mm Tube OD, Male, 11/16"-16 ORFS x M22 x 1.5 ORB

1шт.

22

87016907

HYD CONNECTOR,9/16"-18 ORFS x M10 x 1 ORB

1шт.

Выбрано товаров: 22