Запчасти Case IH PUMA 130 (35.200.03[01]) - VAR - 743689, 330560, 333560, 743690, 330561, 333561 - ELECTRONIC MID MOUNTED VALVES - LINES (35) - HYDRAULIC SYSTEMS

Схема запчастей Case IH PUMA 130 - (35.200.03[01]) - VAR - 743689, 330560, 333560, 743690, 330561, 333561 - ELECTRONIC MID MOUNTED VALVES - LINES (35) - HYDRAULIC SYSTEMS
23
1
6
16
10
9
11
8
2
17
18
7
15
home
35.204.32
35.204.34
35.300.01
21
3
12
14
13
6
22
20
5
4
19
FIT
1:1
100%

Артикул

Название

Примечание

Количество

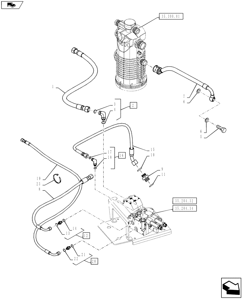
1

84303479

HOSE,16.00MM ID x 1200.00mm, SAE 100R16

Supply

1шт.

2

5194728

90 ELBOW

Incl 3, 4

1шт.

3

14438085

O-RING,19.3mm ID x 2.4mm

1шт.

4

5185512

O-RING,0.07" Thk x 0.614" ID, -16, Cl 6, 90 Duro

1шт.

5

5112588

BANJO BOLT,M22 x 1.5 x 40mm

1шт.

6

5165897

SEALING WASHER,22.7mm ID x 30mm OD x 2mm Thk

2шт.

7

84121775

HYDRAULIC HOSE,18.00mm OD x 1000.00mm, SAE 100R3

Return

1шт.

8

87736303

HOSE,1100.00mm

24 Bar Supply

1шт.

9

86579675

HYD CONNECTOR,13/16"-16 ORFS x M16 x 1.5 ORB

Incl 10, 11

1шт.

10

86598100

O-RING,2.2mm Thk x 13.3mm ID, Cl 6, 90 Duro

1шт.

11

9992298

O-RING,0.07" Thk x 0.489" ID, -14, Cl 6, 90 Duro

1шт.

12

82019693

HYD CONNECTOR,11/16" - 16 ORFS x M14 x 1.5 ORFS

Incl 13, 14

1шт.

13

82019811

SEAL,11.6mm ID x 16.5mm OD x 1.5mm Thk

1шт.

14

81844851

O-RING,0.07" Thk x 0.364" ID, -12, Cl 6, 90 Duro

1шт.

15

87736304

HOSE,950.00mm

Return

1шт.

16

5185548

ELBOW,M14 x 1.5mm ORB, 13/16"-16" ORFS

Incl 17, 18

1шт.

17

14437785

O-RING,11.3mm ID x 2.4mm

1шт.

18

5185511

O-RING,1.78mm Thk x 12.42mm ID, 85 Duro

1шт.

19

84161309

HYDRAULIC HOSE,6.35mm ID x 1450mm L, SAE 100R2

Load Sense

1шт.

20

5185045

HYD CONNECTOR

Incl 21, 22

1шт.

21

14437685

O-RING,9.30mm ID x 2.40mm

1шт.

22

5185509

O-RING,1.78mm Thk x 7.66mm ID, 85 Duro

1шт.

23

82001041

CABLE TIE,0.190" x 7.00" / 200 mm L

CABLE STRAP

3шт.

Выбрано товаров: 23