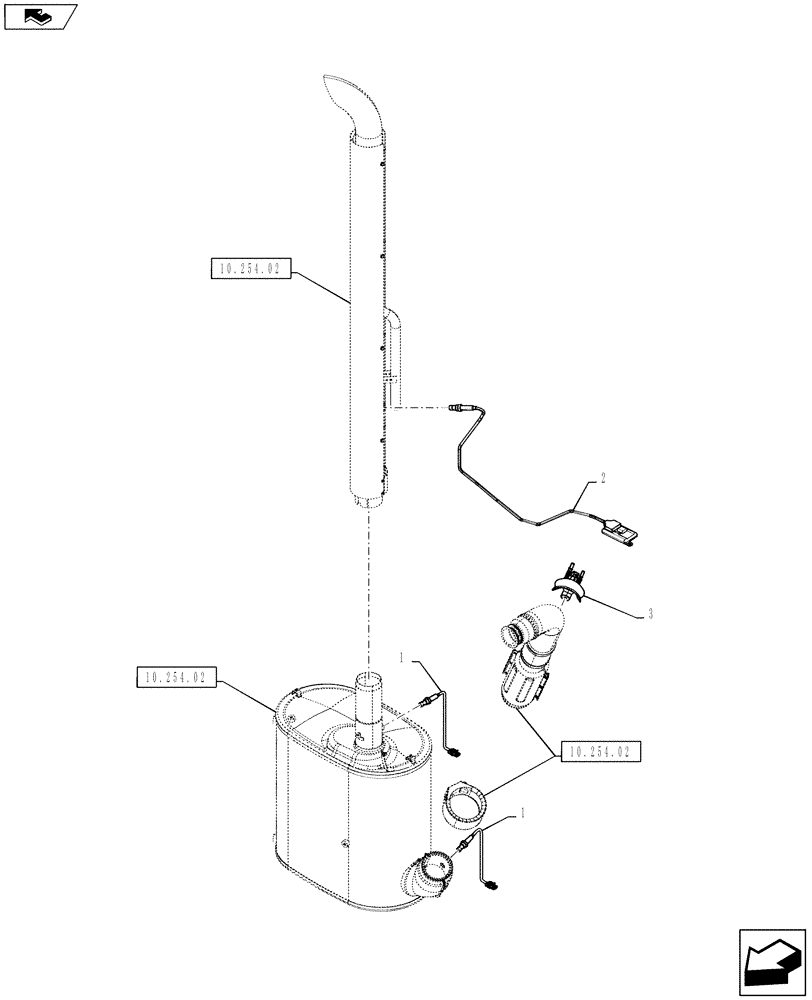
Запчасти Case IH PUMA 130 (55.988.01) - SCR EXHAUST SYSTEM (DEF/ADBLUE) SENSOR & DOSING MODULE (55) - ELECTRICAL SYSTEMS

Схема запчастей Case IH PUMA 130 - (55.988.01) - SCR EXHAUST SYSTEM (DEF/ADBLUE) SENSOR & DOSING MODULE (55) - ELECTRICAL SYSTEMS
1
home
10.254.02
10.254.02
10.254.02
2
3
1
FIT
1:1
100%

Артикул

Название

Примечание

Количество

1

47367178

SENSOR

Temperature

2шт.

2

84292579

SENSOR

NOX

1шт.

3

84247021

MODULE,Dosing Injector

Denox2 Dosing

1шт.

Выбрано товаров: 3