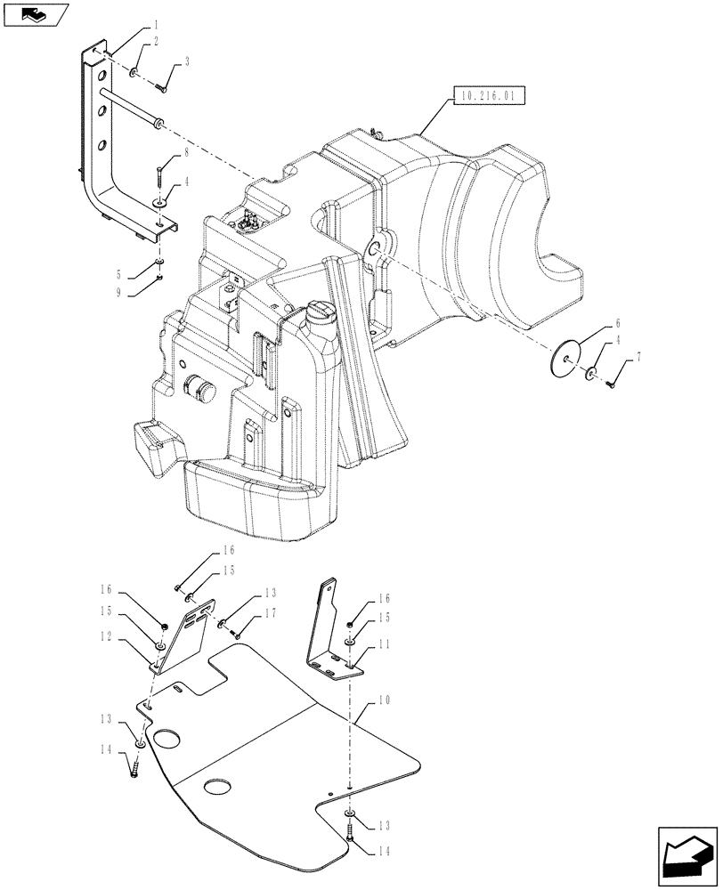
Запчасти Case IH PUMA 145 (10.216.02) - VAR - 337142 & STD - FUEL TANK - SUPPORT (10) - ENGINE

Схема запчастей Case IH PUMA 145 - (10.216.02) - VAR - 337142 & STD - FUEL TANK - SUPPORT (10) - ENGINE
home
10.216.01
4
15
14
9
13
16
8
11
15
3
5
4
14
17
13
2
15
10
12
1
6
13
7
16
16
FIT
1:1
100%

Артикул

Название

Примечание

Количество

1

84180416

SUPPORT

1шт.

2

14496701

WASHER,13.00mm ID x 24.00mm OD x 2.50mm, CST, ZND

2шт.

3

15540324

SCREW,Hex, M12 x 1.25 x 25mm, Cl 8.8, Full Thd

2шт.

4

12644301

WASHER,M10 x 35 x 3

2шт.

5

14496601

WASHER,10.5mm ID x 21mm OD x 2mm Thk

1шт.

6

83957652

SPACER,20mm ID x 120mm OD x 5mm L

1шт.

7

11106021

BOLT,Hex, M10 x 1.5 x 20 mm, Cl 8.8, Full Thd

1шт.

8

15215221

BOLT,Hex, M10 x 1.5 x 80mm, Cl 8.8, Full Thd

1шт.

9

12577211

LOCK NUT,M10 x 1.5mm Pitch, 12.30mm High, Cl 8, ZND

1шт.

10

84382434

PLATE

1шт.

11

84382449

SUPPORT

1шт.

12

84382451

SUPPORT

1шт.

13

140017

WASHER,M10 x 20mm OD x 2mm Thk

6шт.

14

9706704

BOLT,Hex, M10 x 1.5 x 41.58mm, Cl 8.8

4шт.

15

140045

BELLEVILLE WASHER,M10 Bolt Size x 22mm OD x 1.6mm Thk

6шт.

16

86500689

NUT,M10 x 1.5, Cl 10

6шт.

17

86508618

BOLT,Hex, M10 x 1.5 x 45mm, Cl 10.9

2шт.

Выбрано товаров: 17