Запчасти Case IH PUMA 200 (88.035.05) - DIA KIT - POWER BEYOND VALVE (88) - ACCESSORIES

Схема запчастей Case IH PUMA 200 - (88.035.05) - DIA KIT - POWER BEYOND VALVE (88) - ACCESSORIES
35.204.01 01
6
10
17
20
14
8
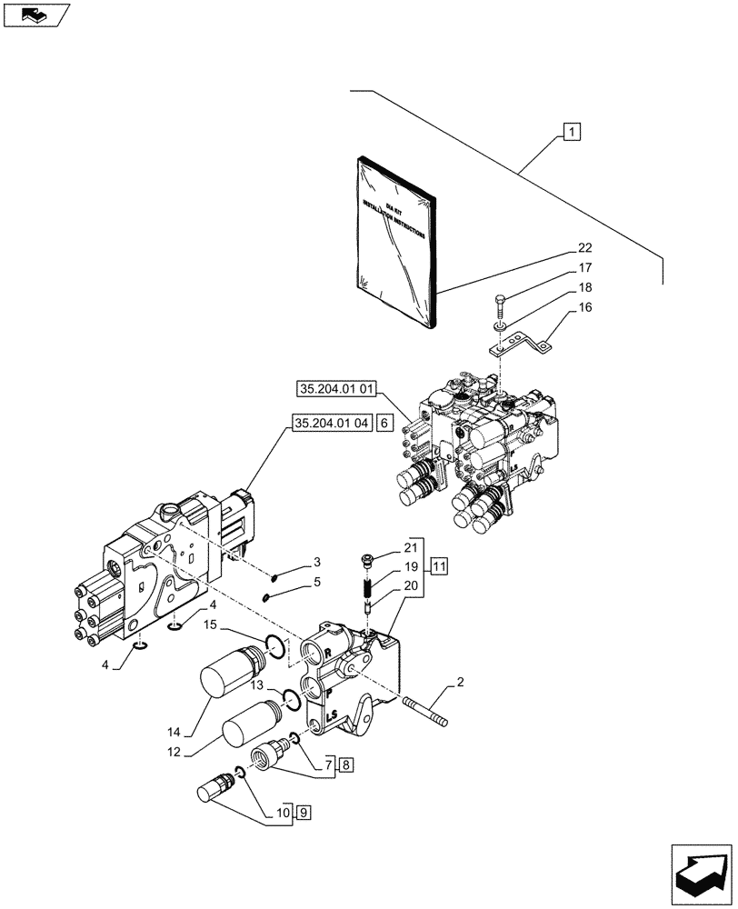
1
19
4
7
21
13
18
12
15
3
11
2
9
22
4
16
5
home
35.204.01 04
FIT
1:1
100%

Артикул

Название

Примечание

Количество

1

718917044

DIA KIT, TRACTOR

Power Beyond Valve, Contains Ref. 2 - 21 & Installation Instructions

1шт.

Refer to Installation Instructions for Correct Assembly Procedure

1шт.

2

87604617

STUD,M12 x 1.75 x 235mm L

M12 x 1.75

3шт.

3

87635379

O-RING,2.62mm Thk x 9.19mm ID, -110, 80 Duro

6шт.

4

87635381

O-RING,2.62mm Thk x 15.54mm ID, -114, 80 Duro

2шт.

5

87635382

O-RING,2.62mm Thk x 20.29mm ID, -117, 80 Duro

6шт.

6

87325955

HYD VALVE SECTION

ASSY, Auxiliary, Main, Serial Range: -C7414

1шт.

6

87325955R

REMAN-HYD VALVE

Auxiliary, Main

1шт.

6

87325955C

CORE-VALVE HYD

Return Number

1шт.

6

47434171

HYD VALVE SECTION

ASSY, Auxiliary, Main, Start Serial: D7414

1шт.

6

47434171R

REMAN-HYD VALVE

Auxiliary, Main

1шт.

6

47434171C

CORE-VALVE HYD

Return Number

1шт.

7

637-63113

O-RING,2.2mm Thk x 11.3mm ID, Cl 6

1шт.

8

84174591

HYD CONNECTOR,Hex, M14 x 1.5

M14 x 1.5, ASSY, Contains Ref. 7

1шт.

9

87310816

PUSH-PULL COUPLING

M14 x 1.5, ASSY, Contains Ref. 10

1шт.

10

14437785

O-RING,11.3mm ID x 2.4mm

1шт.

11

87607904

HYD VALVE SECTION

ASSY, Power Beyond Manifold, Contains Ref. 6, 8, 9, 12, 14, 19, 20

1шт.

12

87310813

PUSH-PULL COUPLING

M27 x 2, ASSY, Contains Ref. 13

1шт.

13

14438185

O-RING,24mm ID x 3mm

1шт.

14

87310811

PUSH-PULL COUPLING

M30 x 2, ASSY, Contains Ref. 15

1шт.

15

81903721

O-RING,0.116" Thk x 1.048" ID, -914, Cl 6, 90 Duro

1шт.

16

87623286

SUPPORT

1шт.

17

16043221

BOLT,Hex, M8 x 16mm, Cl 8.8, Full Thd

4шт.

18

14496501

WASHER,8.4mm ID x 17mm OD x 1.6mm Thk

2шт.

19

87648596

SPRING,3.81mm OD x 23.19mm L

1шт.

20

87648631

PIN,8mm OD x 19mm L

1шт.

21

87648607

PLUG,M12 x 1.5 ORB

1шт.

22

84199908

INSTRUCTION

1шт.

Выбрано товаров: 28