Запчасти Case IH PUMA 200 (88.090.07) - DIA KIT - REAR FENDER WIDE EXTENSIONS (88) - ACCESSORIES

Схема запчастей Case IH PUMA 200 - (88.090.07) - DIA KIT - REAR FENDER WIDE EXTENSIONS (88) - ACCESSORIES
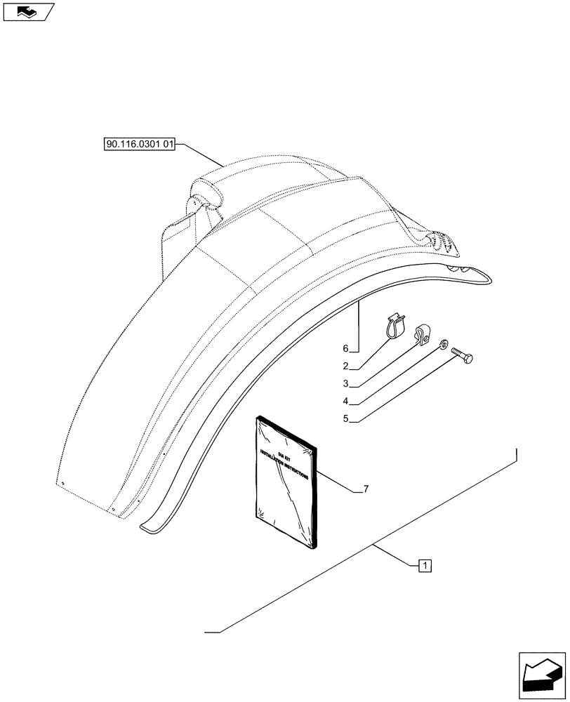
1
4
2
90.116.0301 01
3
home
6
5
7
FIT
1:1
100%

Артикул

Название

Примечание

Количество

1

718601014

DIA KIT, TRACTOR

Rear Fender Wide Extensions, Contains Ref. 2-6 & Installation Instructions

1шт.

Refer to Installation Instructions for Correct Assembly Procedure

1шт.

2

87622826

SPRING CLIP,0.5mm Thk

14шт.

3

15896411

NUT,Hex, M5, 4.70mm High, Cl 8

8шт.

4

10977621

BOLT,Hex, M5 x 12mm, Cl 8.8, Full Thd

8шт.

5

10519301

WASHER,5.3mm ID x 9.55mm OD x 1mm Thk

16шт.

6

84349869

FENDER EXTENSION

LH, 180 mm Wide

1шт.

6

84349870

FENDER EXTENSION

RH, 180 mm Wide

1шт.

7

84142898

INSTRUCTION

1шт.

Выбрано товаров: 9