Качественные детали и логистика
Оригинальные и аналоговые запчасти с доставкой по России, Казахстану и Беларуси
©2022 PartSell ООО "Система" ИНН 2463123282 ОГРН 1212400004838
Центральный офис: г. Красноярск, Академика Киренского, д.87, пом.4
Телефон: 8 (800) 777-65-74 Email: zakaz@partsell.ru
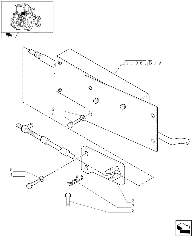
(1.96.3) - SHIFTABLE PTO ELECTRIC CONTROL
№
Артикул
Название
Примечание
Количество
1
87750425
ACTUATOR
Incl. 11
1шт.
2
10519407
WASHER,6.4mm ID x 11.95mm OD x 1.6mm Thk
4шт.
3
87497039
BRACKET
4
14307374
BOLT,Hex Skt, M10 x 1.25 x 20mm, Cl 12.9, Full Thd
2шт.
5
11190574
BELLEVILLE WASHER,M10 Bolt Size x 20mm OD x 2.3mm Thk
6
10902021
BOLT,Hex, M6 x 12mm, Cl 8.8
7
83957394
PIN,0.072" x 0.82"
8
16044021
SCREW,Hex, M8 x 1.25 x 40mm, Cl 8.8
Выбрано товаров: 0