Запчасти Case IH PUMA 230 (21.140.0101[01]) - TRANSMISSION 50KPH & 40KPH "ECONOMY" - I & III RANGE GEARS (VAR.743042-743142) (21) - TRANSMISSION

Схема запчастей Case IH PUMA 230 - (21.140.0101[01]) - TRANSMISSION 50KPH & 40KPH "ECONOMY" - I & III RANGE GEARS (VAR.743042-743142) (21) - TRANSMISSION
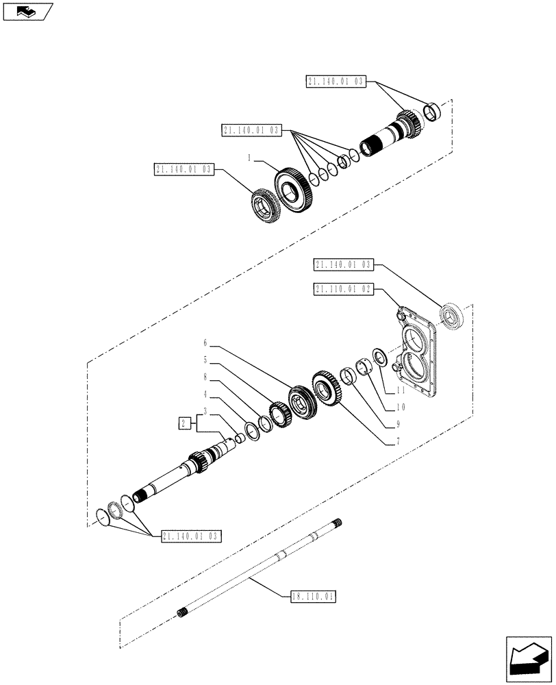
7
1
10
6
5
9
3
11
18.110.01
home
21.140.01 03
21.140.01 03
21.140.01 03
21.110.01 02
21.140.01 03
21.140.01 03
8
4
2
FIT
1:1
100%

Артикул

Название

Примечание

Количество

1

87528212

GEAR

Primary Gear III

1шт.

2

84152252

SHAFT

Contains Ref. 3

1шт.

3

5107725

BUSHING,31.99mm ID x 36mm OD x 25mm L

1шт.

4

87528649

SPACER

1шт.

5

87707714

GEAR,27T

R2

1шт.

6

84212632

SYNCHRONIZER,144mm ID x 156mm OD x 46mm Thk, 31/46T

31/46 Teeth

1шт.

7

87707713

GEAR

1шт.

8

5144915

NEEDLE BEARING CAGE,68mm ID x 74mm OD x 30mm W

1шт.

9

87562181

NEEDLE BEARING,70mm ID x 76mm OD x 30mm W

1шт.

10

87534229

BUSHING,60mm ID x 70mm OD x 43.5mm L

1шт.

11

87528646

SPACER,55mm ID x 88mm OD x 8mm L

1шт.

Выбрано товаров: 11