Запчасти Case IH PUMA 230 (25.102.0103[01]) - ABS SYSTEM - 4WD FRONT AXLE WITH SUSPENSION AND BRAKES - FLANGE, BEARING, AND SHIMS (VAR.743963-743964) (25) - FRONT AXLE SYSTEM

Схема запчастей Case IH PUMA 230 - (25.102.0103[01]) - ABS SYSTEM - 4WD FRONT AXLE WITH SUSPENSION AND BRAKES - FLANGE, BEARING, AND SHIMS (VAR.743963-743964) (25) - FRONT AXLE SYSTEM
8
2
6
7
10
25.100.0803 02
9
25.102.0303
4
1
3
25.102.0103 02
home
2
5
FIT
1:1
100%

Артикул

Название

Примечание

Количество

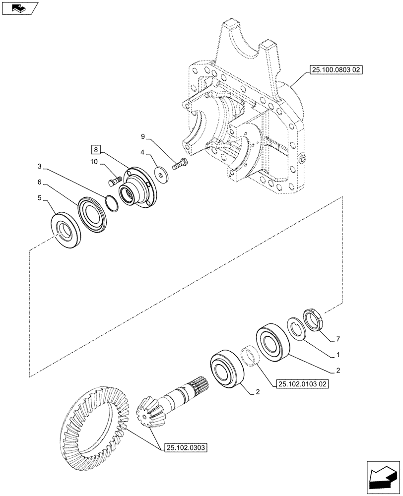
1

84368680

SPECIAL WASHER

1шт.

2

5141714

TAPERED BEARING,45mm ID x 85mm OD x 20mm W

45 x 100 x 38.25 mm

2шт.

3

5168195

SNAP RING,1.5mm Thk, Ext

1шт.

4

87350787

WASHER

1шт.

5

87355233

SEAL,42mm ID x 101mm OD x 17.5mm Thk

D =101 x 42 x 27 mm

1шт.

6

87525554

SEAL PROTECTION

1шт.

7

5147930

RING NUT,M45 x 1.5

1шт.

8

87621411

FLANGE

ASSY, Contains Ref. 10

1шт.

9

15540431

SCREW,Hex, M12 x 1.25 x 30mm, Cl 10.9, Full Thd

M12 x 1.25 x 30 mm

1шт.

10

87550808

PIN,12.5mm OD x 37mm L

3шт.

Выбрано товаров: 10