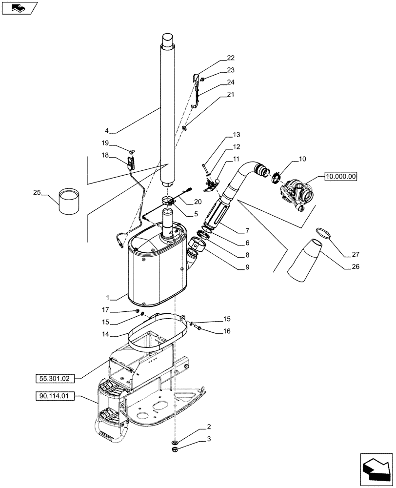
Запчасти Case IH PUMA 230 (10.254.0301) - EXHAUST SYSTEM (10) - ENGINE

Схема запчастей Case IH PUMA 230 - (10.254.0301) - EXHAUST SYSTEM (10) - ENGINE
22
4
1
9
home
1
5
27
8
15
20
2
18
17
6
25
1
16
10.000.00
7
13
3
12
15
14
21
55.301.02
19
90.114.01
24
26
23
10
FIT
1:1
100%

Артикул

Название

Примечание

Количество

1

84396514

MUFFLER

1шт.

2

86511324

WASHER,13mm ID x 24mm OD x 2.5mm Thk

4шт.

3

87618213

NUT

4шт.

4

84364373

VERTICAL EXHAUST

1шт.

5

84333396

HOSE CLAMP,91mm - 97mm

1шт.

6

84348631

SEAL

1шт.

7

84263767

EXHAUST SYSTEM PIPE

1шт.

8

84407060

CLAMP

1шт.

9

84322812

INSULATOR

1шт.

10

87524289

CLAMP,81mm

1шт.

11

84247021

MODULE,Dosing Injector

DE NOX2 UREA DOSING VALVE

1шт.

12

10519401

WASHER,6.4mm ID x 11.95mm OD x 1.6mm Thk

5шт.

13

14305821

HEX SOC SCREW,M6 x 40mm, Cl 8.8

3шт.

14

84346263

CLAMP BRACKET

1шт.

15

14496601

WASHER,10.5mm ID x 21mm OD x 2mm Thk

3шт.

16

9706704

BOLT,Hex, M10 x 1.5 x 41.58mm, Cl 8.8

1шт.

17

100016

NUT,M10 x 1.5, Cl 8

2шт.

18

84292579

SENSOR

1шт.

19

378056

BOLT,Hex, M6 x 10mm, Cl 8.8

2шт.

20

47367178

SENSOR

Temperature

2шт.

21

14189071

SPRING NUT,M6

2шт.

22

84354386

PLATE

1шт.

23

86512252

BOLT,Hex Flg, M6 x 10mm

2шт.

24

86566989

CABLE TIE,208mm L

3шт.

25

84412905

INSULATION

1шт.

26

84469327

INSULATOR

1шт.

27

82036460

HOSE CLAMP,110mm - 130mm, Worm Gear

1шт.

Выбрано товаров: 27