Запчасти Case IH PUMA 150 CVT (50.100.AP[01]) - VAR - 391176, 758255, 758257 - AIR CONDITIONER (50) - CAB CLIMATE CONTROL

Схема запчастей Case IH PUMA 150 CVT - (50.100.AP[01]) - VAR - 391176, 758255, 758257 - AIR CONDITIONER (50) - CAB CLIMATE CONTROL
7
5
6
8
6
2
4
3
50.104.ao (01)
5
7
50.100.ap (02)
8
1
50.104.ao (02)
FIT
1:1
100%

Артикул

Название

Примечание

Количество

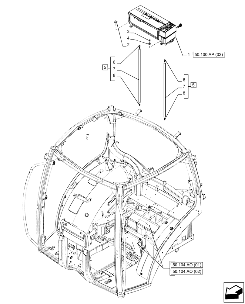
1

47490413

AIR CONDITIONER

Mechanical with Electric Water

1шт.

2

87581911

FLANGE BOLT,Hex, M6 x 25mm

2шт.

3

120100

BOLT,M6 x 20mm, Cl 8.8

2шт.

4

10523401

WASHER,6.15mm ID x 18mm OD x 2mm Thk

2шт.

5

84232466

TUBE

ASSY, Incl 6 - 8

2шт.

6

84231998

DRAIN

1шт.

7

NSS

NOT SOLD SEPARAT

Hose, Incl in 5

1шт.

8

84232000

CHECK VALVE

1шт.

Выбрано товаров: 8