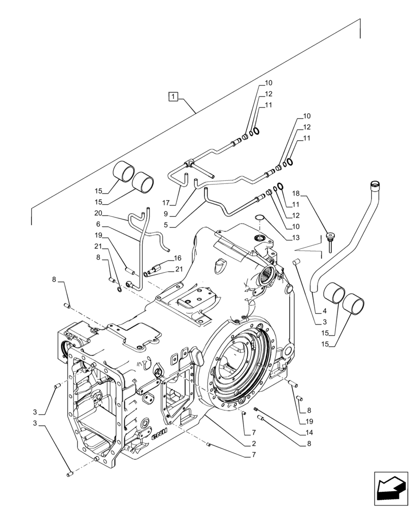
Запчасти Case IH PUMA 150 CVT (21.118.AF[07]) - VAR - 391138, 758022, 758870 - TRANSMISSION HOUSING, CVT (21) - TRANSMISSION

Схема запчастей Case IH PUMA 150 CVT - (21.118.AF[07]) - VAR - 391138, 758022, 758870 - TRANSMISSION HOUSING, CVT (21) - TRANSMISSION
6
2
7
14
8
17
1
4
3
16
11
10
21
15
11
10
3
10
13
18
15
9
8
12
15
11
8
3
7
20
15
8
19
19
12
5
21
12
FIT
1:1
100%

Артикул

Название

Примечание

Количество

1

84396940

HOUSING

ASSY, Incl 2 - 21

1шт.

2

NSS

NOT SOLD SEPARAT

Housing, Incl in 1

1шт.

3

4985062

DOWEL,15mm OD x 25mm L

4шт.

4

87374620

HYD TUBE,413.7, 303.75 mm L

1шт.

5

87386535

HYD TUBE,248, 131 mm L

1шт.

6

87693376

TUBE

4WD Clutch Supply

1шт.

7

10839710

DOWEL,M10 x 15.00mm

2шт.

8

5110200

DOWEL,12mm OD x 25mm L

4шт.

9

87386528

HYD TUBE,378, 72.5 mm L

1шт.

10

5186628

BUSHING,16mm ID x 22mm OD x 14mm L

3шт.

11

14453182

O-RING,0.07" Thk x 0.489" ID, -14, Cl 9, 70 Duro

3шт.

12

300625

SNAP RING,M16, Ext

3шт.

13

13398776

SNAP RING,M35, Int

1шт.

14

14306520

HEX SOC SCREW,M8 x 1.25 x 30mm, Cl 8.8, Full Thd

1шт.

15

5180491

BUSHING,65.1mm ID x 70.03mm OD x 45mm L

4шт.

16

87724317

FITTING,M8 x 1.25 x M16 x 1.5

4WD

1шт.

17

84392979

HYD TUBE

PTO Lube

1шт.

18

84395528

HYD TUBE

1шт.

19

84160085

DOWEL,M12 x 30.00mm

6шт.

20

84249628

HYD TUBE

Differential lock

1шт.

21

10261460

COPPER WASHER,16.3mm ID x 24mm OD x 1.5mm Thk

2шт.

Выбрано товаров: 21