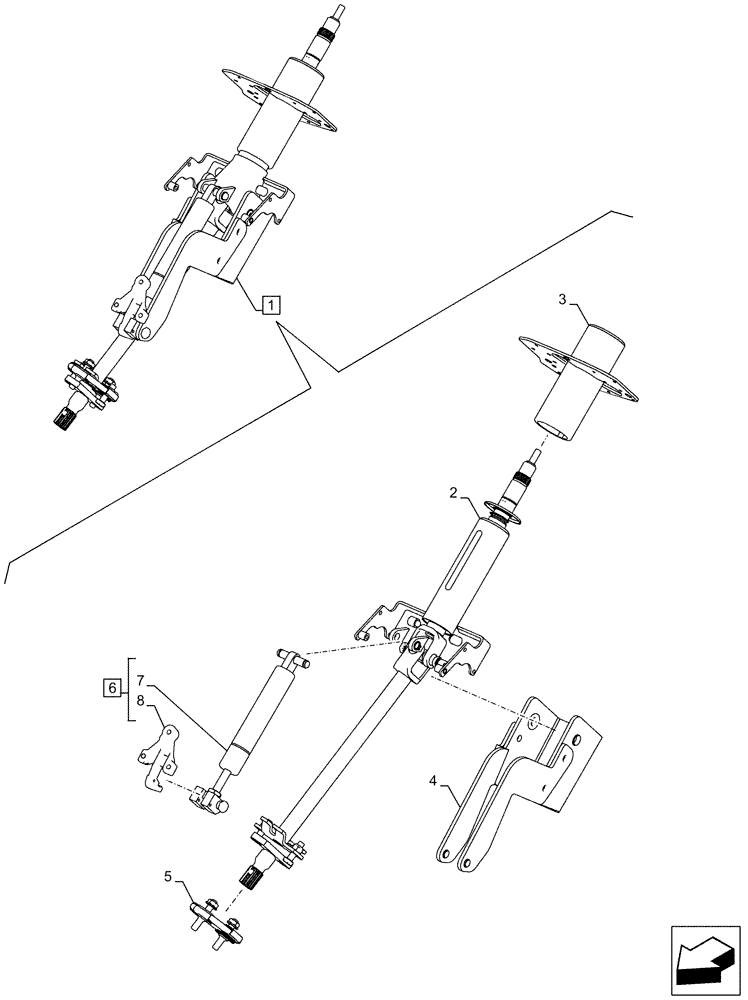
Запчасти Case IH PUMA 150 CVT (41.101.AF[02]) - VAR - 391347, 758802, 758803, 758804, 758805, 758806, 758807, 758871 - STEERING COLUMN, COMPONENTS (41) - STEERING

Схема запчастей Case IH PUMA 150 CVT - (41.101.AF[02]) - VAR - 391347, 758802, 758803, 758804, 758805, 758806, 758807, 758871 - STEERING COLUMN, COMPONENTS (41) - STEERING
7
8
4
2
5
3
1
6
FIT
1:1
100%

Артикул

Название

Примечание

Количество

1

47383940

STEERING COLUMN,Tilting, Telescoping

ASSY, Incl 2 - 8

1шт.

2

NSS

NOT SOLD SEPARAT

Steering Column, Incl in 1

1шт.

3

87710001

SUPPORT

7mm

1шт.

4

87709998

SUPPORT

1шт.

5

87521601

FLEXIBLE COUPLING

1шт.

6

84599544

GAS STRUT

ASSY, Incl 7, 8

1шт.

7

NSS

NOT SOLD SEPARAT

Gas Strut, Incl in 6

1шт.

8

84578684

LEVER

1шт.

Выбрано товаров: 8