Запчасти Case IH PUMA 165 CVT (21.505.AQ[02]) - VAR - 391138, 758022 - TRANSMISSION CONTROL VALVE (21) - TRANSMISSION

Схема запчастей Case IH PUMA 165 CVT - (21.505.AQ[02]) - VAR - 391138, 758022 - TRANSMISSION CONTROL VALVE (21) - TRANSMISSION
20
9
18
13
1
8
22
21.506.bc
26
3
4
5
11
2
22
24
21.505.aq (03)
25
7
17
10
15
6
17
21.506.aa
12
9
55.021.ab (02)
19
55.022.ab (04)
5
14
21
26
55.024.ah (03)
55.021.ab (02)
16
23
FIT
1:1
100%

Артикул

Название

Примечание

Количество

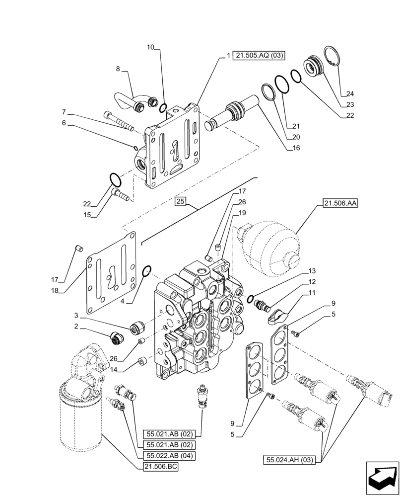
1

87719634

DISTRIBUTOR

ASSY

1шт.

2

84323608

CHECK VALVE

1шт.

3

87482254

CHECK VALVE

1шт.

4

14453480

O-RING,17.17mm ID x 1.78mm

1шт.

5

14305124

HEX SOC SCREW,M6 x 12mm, Cl 8.8, Full Thd

8шт.

6

12638121

WASHER,5.15mm ID x 14mm OD x 1mm Thk

5 x 14 x 1

1шт.

7

14309124

SCREW,Hex Soc Hd, M10 x 1.25 x 75, 8.8

1шт.

8

87722691

TUBE

1шт.

9

87364740

MOUNTING PLATE

2шт.

10

14437985

O-RING,15.3mm ID x 2.4mm

1шт.

11

5185424

DUST CAP,11.5mm ID x 81.5 L, Black

2шт.

12

5185423

COUPLING

2шт.

13

86598099

O-RING,2.2mm Thk x 11.3mm ID, Cl 6

2шт.

14

10269601

PLUG,M16 x 1.5

M16 x 1.5

1шт.

15

14307621

HEX SOC SCREW,M10 x 1.25 x 35mm, Cl 8.8, Full Thd

4шт.

16

84143472

SPOOL,24mm OD x 152mm L

1шт.

17

10839710

DOWEL,M10 x 15.00mm

4шт.

18

87725760

GASKET,0.5mm Thk

1шт.

19

NSS

NOT SOLD SEPARAT

Body, Incl in 25

1шт.

20

5175009

SEALING RING,34.55mm ID x 42.02mm OD x 3.2mm Thk

1шт.

21

14458680

O-RING,0.103" Thk x 1.487" ID, -128, Cl 5, 75 Duro

1шт.

22

81902618

O-RING,0.139" Thk x 0.921" ID, -213, Cl 5, 75 Duro

2шт.

23

84378612

PLUG,42mm ID

1шт.

24

11060276

SNAP RING,M47, Int

1шт.

25

47518576

HYDRAULIC MANIFOLD

ASSY, Incl 14, 17, 19, 26

1шт.

26

14326001

PLUG,Hex Skt, M10 x 1.25 x 11mm, Cl 4.8

6шт.

Выбрано товаров: 26