Запчасти Case IH PUMA 165 CVT (35.300.AN[02]) - VAR - 391161, 758055 - OIL FILTER, CVT (35) - HYDRAULIC SYSTEMS

Схема запчастей Case IH PUMA 165 CVT - (35.300.AN[02]) - VAR - 391161, 758055 - OIL FILTER, CVT (35) - HYDRAULIC SYSTEMS
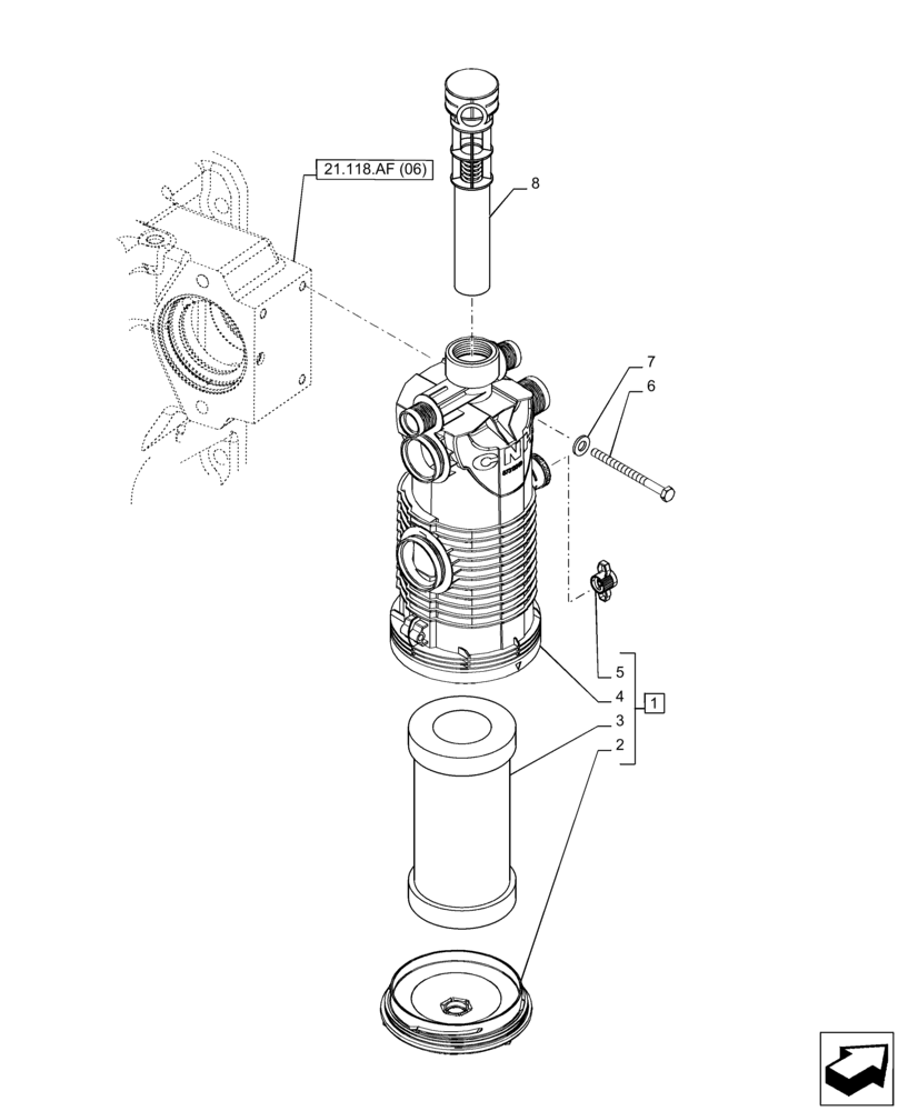
21.118.af (06)
8
3
1
4
7
6
5
2
FIT
1:1
100%

Артикул

Название

Примечание

Количество

1

84242244

FILTER ASSY

ASSY, Incl 2 - 5, 8

1шт.

2

87705159

FILTER COVER

1шт.

3

87708150

HYDRAULIC OIL FILTER,Filter & Seal

Suction, 32 Micron

1шт.

4

NSS

NOT SOLD SEPARAT

Filter Body, Incl in 1

1шт.

5

87705160

ARRESTER

1шт.

6

15972421

SCREW,Hex, M10 x 1.25 x 130mm, Cl 8.8

2шт.

7

14496621

WASHER,10.5mm ID x 21mm OD x 2mm Thk

2шт.

8

84244473

CHECK VALVE

1шт.

Выбрано товаров: 8