Запчасти Case IH PUMA 165 CVT (90.116.AC[04]) - VAR - 758971 - DYNAMIC FRONT FENDER (540MM) (90) - PLATFORM, CAB, BODYWORK AND DECALS

Схема запчастей Case IH PUMA 165 CVT - (90.116.AC[04]) - VAR - 758971 - DYNAMIC FRONT FENDER (540MM) (90) - PLATFORM, CAB, BODYWORK AND DECALS
90.116.ac (01)
3
10
1
2
5
11
6
12
9
4
8
5
13
7
FIT
1:1
100%

Артикул

Название

Примечание

Количество

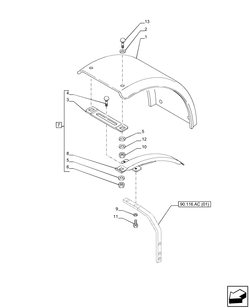
1

47730220

FRONT FENDER,540mm

540mm

1шт.

2

84145763

WASHER,14mm ID x 41.3mm OD x 2.64mm Thk

4шт.

3

82021040

SUPPORT

2шт.

4

82021059

BOLT,Hex, M10 x 1.25 x 31mm

2шт.

5

12626201

WASHER,10.2mm ID x 25mm OD x 3mm Thk

6шт.

6

12577211

LOCK NUT,M10 x 1.5mm Pitch, 12.30mm High, Cl 8, ZND

2шт.

7

87659018

SUPPORT

ASSY, Incl 2 - 4, 5 (Qty 2), 6, 8, 12

1шт.

8

87616362

BRACKET

1шт.

9

14496701

WASHER,13.00mm ID x 24.00mm OD x 2.50mm, CST, ZND

2шт.

10

11701711

NUT,Hex, M10, Cl 8, ZND

4шт.

11

15540624

BOLT,Hex, M12 x 1.25 x 40mm, Cl 8.8, Full Thd

4шт.

12

11198574

BELLEVILLE WASHER,Belleville, M10.5

4шт.

13

13183201

CARRIAGE BOLT,Sq Nk, M10 x 1.5 x 30mm, Cl 4.8

4шт.

Выбрано товаров: 13