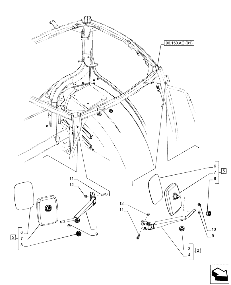
Запчасти Case IH PUMA 165 CVT (90.118.BM[02]) - VAR - 391297 - MIRROR, OUTSIDE, REAR (90) - PLATFORM, CAB, BODYWORK AND DECALS

Схема запчастей Case IH PUMA 165 CVT - (90.118.BM[02]) - VAR - 391297 - MIRROR, OUTSIDE, REAR (90) - PLATFORM, CAB, BODYWORK AND DECALS
90.150.ac (01)
7
5
8
1
11
12
4
10
6
9
2
6
11
7
3
12
9
8
5
FIT
1:1
100%

Артикул

Название

Примечание

Количество

1

84398575

MIRROR ARM

RH

1шт.

2

87314381

MIRROR ARM

LH, ASSY, Incl 3, 4

1шт.

3

87365131

KNOB

Arm Clamping

1шт.

4

NSS

NOT SOLD SEPARAT

Mirror Arm, Incl in 2

1шт.

5

87339177

MIRROR ASSY.

ASSY, Incl 6, 8

2шт.

6

82035218

MIRROR,300mm x 200mm

300 x 200

2шт.

7

NSS

NOT SOLD SEPARAT

Mirror, Incl in 5

1шт.

8

82016257

KNOB

Mirror Adjusting

1шт.

9

82035908

WASHER

Saddle Mirror Arm

2шт.

10

82039492

GROMMET,6mm ID x 20mm OD, Rubber

2шт.

11

81869630

HEX SOC SCREW,M10 x 35mm, Cl 8.8

4шт.

12

12577211

LOCK NUT,M10 x 1.5mm Pitch, 12.30mm High, Cl 8, ZND

4шт.

Выбрано товаров: 12