Запчасти Case IH PUMA 185 CVT (10.254.AD[03]) - VAR - 391209 - EXHAUST SYSTEM PIPE, COVERS (10) - ENGINE

Схема запчастей Case IH PUMA 185 CVT - (10.254.AD[03]) - VAR - 391209 - EXHAUST SYSTEM PIPE, COVERS (10) - ENGINE
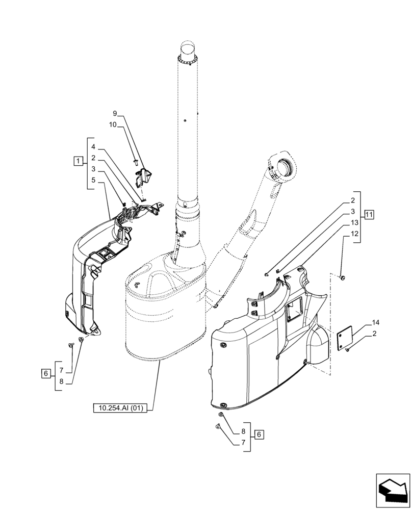
1
10.254.ai (01)
4
7
10
7
6
2
5
3
11
8
9
14
3
13
12
8
2
6
2
FIT
1:1
100%

Артикул

Название

Примечание

Количество

1

47413723

PROTECTIVE COVER

Rear, ASSY, Incl 2 - 5

1шт.

2

16089877

SCREW,Spcl Tap, Pan Hd Phil, M4.50mm x 2.5 x 12mm

8шт.

3

14189071

SPRING NUT,M6

13шт.

4

14371071

SPRING NUT,M5, 12mm W x 20.3mm OAL

3шт.

5

84316924

SOFT TRIM

Rear

1шт.

6

84348915

SCREW,Pan Hd Phil, M6 x 20mm, w/Thermal Insulator

ASSY, Incl 7, 8

13шт.

7

NSS

NOT SOLD SEPARAT

Screw, M6 x 20, Incl in 6

13шт.

8

NSS

NOT SOLD SEPARAT

Bushing, Incl in 6

13шт.

9

84493346

COVER

1шт.

10

1983571

HEX SOC SCREW,M5 x 12mm, Cl 10.9

3шт.

11

47414894

TRIM

Front, ASSY, Incl 2, 3, 12, 13

1шт.

12

84402052

BLANK-OFF PLUG,19mm OD

1шт.

13

84316910

SOFT TRIM

Front

1шт.

14

84301097

SOFT TRIM

1шт.

Выбрано товаров: 14