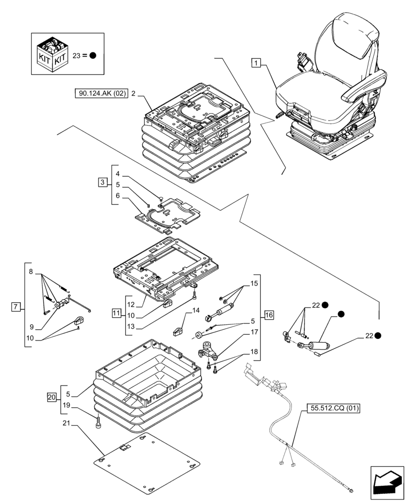
Запчасти Case IH PUMA 185 CVT (90.124.AK[03]) - VAR - 391176, 758255, 758256 - DRIVER SEAT, ADJUSTER, SHOCK ABSORBER (90) - PLATFORM, CAB, BODYWORK AND DECALS

Схема запчастей Case IH PUMA 185 CVT - (90.124.AK[03]) - VAR - 391176, 758255, 758256 - DRIVER SEAT, ADJUSTER, SHOCK ABSORBER (90) - PLATFORM, CAB, BODYWORK AND DECALS
23
5
1
23
7
23
8
9
3
23
18
22
22
10
4
19
2
5
11
21
10
13
55.512.cq (01)
14
16
23
90.124.ak (02)
20
15
12
5
6
17
FIT
1:1
100%

Артикул

Название

Примечание

Количество

1

84215889

DRIVER SEAT

W/Air Suspension, ASSY, Incl 2 - 23

1шт.

See Driver Seat Components also in Figure 55.512.CQ (01), 90.124.AD (01), 90.124.AE (01), 90.124.AH (01)

1шт.

See Driver Seat Components also in Figure 90.124.AK (01) (02), 90.124.AL (01), 90.124.AM (01), 90.151.AD (01)

1шт.

2

NSS

NOT SOLD SEPARAT

Suspension, ASSY, Incl in 1

1шт.

3

84190947

COVER

ASSY, Incl 4 - 6

1шт.

4

84191006

REPAIR KIT

Cover

1шт.

5

84190975

REPAIR KIT

1шт.

6

NSS

NOT SOLD SEPARAT

Cover, Incl in 3

1шт.

7

84190989

ADJUSTER

Cover, ASSY, Incl 8 - 10

1шт.

8

84191015

REPAIR KIT

Adjuster

1шт.

9

NSS

NOT SOLD SEPARAT

Adjuster, Incl in 7

1шт.

10

1472163

HANDLE

1шт.

11

84190966

PLATE

Plate, ASSY, Incl 10, 12, 13

1шт.

12

NSS

NOT SOLD SEPARAT

Plate, Incl in 11

1шт.

13

84191010

REPAIR KIT

Suspension

1шт.

14

82035123

HANDLE

Damper

1шт.

15

84190985

SHOCK ABSORBER

1шт.

16

84190983

SHOCK ABSORBER

ASSY, Incl 5, 15, 17, 18

1шт.

17

NSS

NOT SOLD SEPARAT

Shock Absorber, Incl in 16

1шт.

18

84191002

REPAIR KIT

Seat Fore-Aft

1шт.

19

84191003

REPAIR KIT

Bellow

1шт.

20

84190978

BELLOWS

ASSY, Incl 5, 19

1шт.

21

84191021

PLATE

1шт.

22

84190998

SERVICE KIT

1шт.

23

84191071

KIT

Shock Absorber, ASSY, Incl 22

1шт.

Выбрано товаров: 25