Запчасти Case IH PUMA 185 CVT (50.100.AP[04]) - VAR - 758256, 758258, 758259, 758260, 758261, 758262, 758263, 758264, 758265 - AIR CONDITIONING WITH ATC, AIR CONDITIONER (50) - CAB CLIMATE CONTROL

Схема запчастей Case IH PUMA 185 CVT - (50.100.AP[04]) - VAR - 758256, 758258, 758259, 758260, 758261, 758262, 758263, 758264, 758265 - AIR CONDITIONING WITH ATC, AIR CONDITIONER (50) - CAB CLIMATE CONTROL
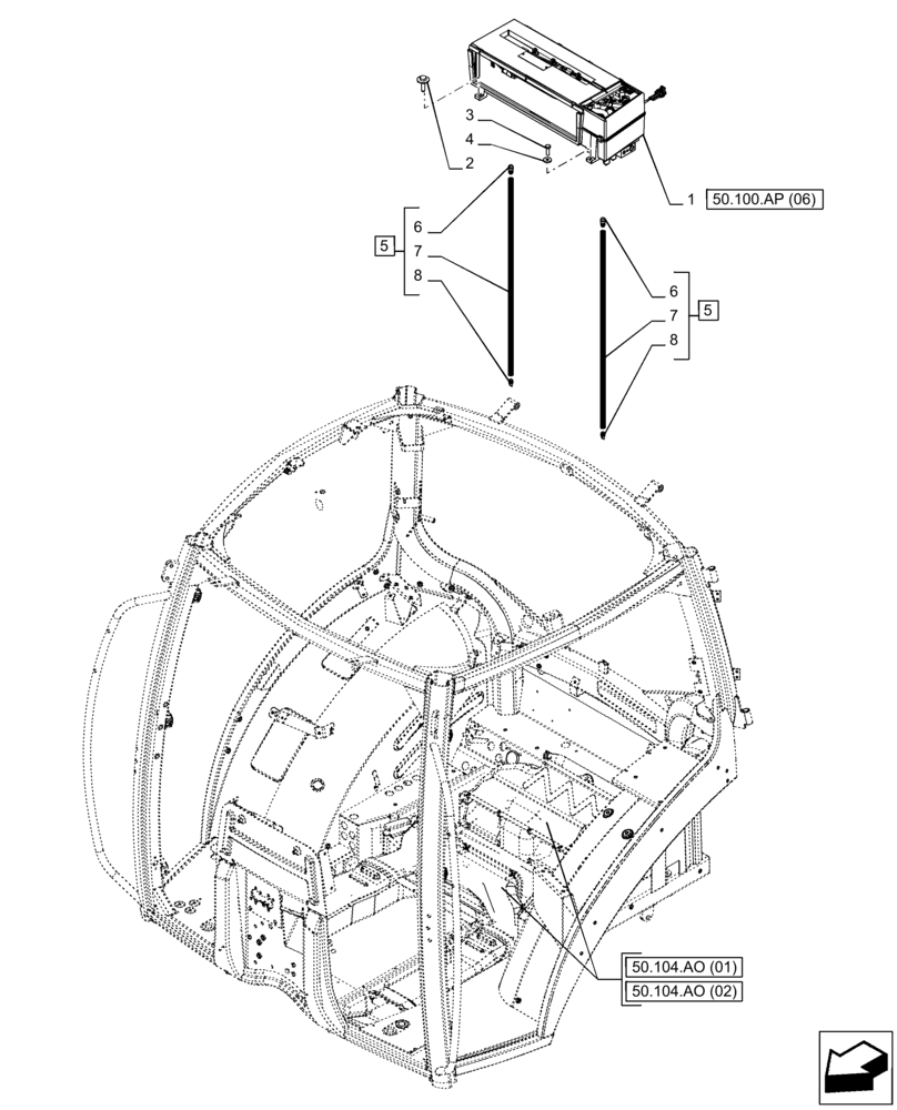
8
7
5
8
2
6
50.100.ap (06)
6
5
4
50.104.ao (02)
7
1
50.104.ao (01)
3
FIT
1:1
100%

Артикул

Название

Примечание

Количество

1

84233168

AIR CONDITIONER

Electronic

1шт.

2

87581911

FLANGE BOLT,Hex, M6 x 25mm

2шт.

3

120100

BOLT,M6 x 20mm, Cl 8.8

2шт.

4

10523401

WASHER,6.15mm ID x 18mm OD x 2mm Thk

2шт.

5

84232466

TUBE

ASSY, Incl 6 - 8

2шт.

6

84231998

DRAIN

1шт.

7

NSS

NOT SOLD SEPARAT

Hose, Incl in 5

1шт.

8

84232000

CHECK VALVE

1шт.

Выбрано товаров: 8