Запчасти Case IH PUMA 185 CVT (50.100.AP[01]) - VAR - 391177, 391299, 391357, 759264, 759266 - AIR CONDITIONER (50) - CAB CLIMATE CONTROL

Схема запчастей Case IH PUMA 185 CVT - (50.100.AP[01]) - VAR - 391177, 391299, 391357, 759264, 759266 - AIR CONDITIONER (50) - CAB CLIMATE CONTROL
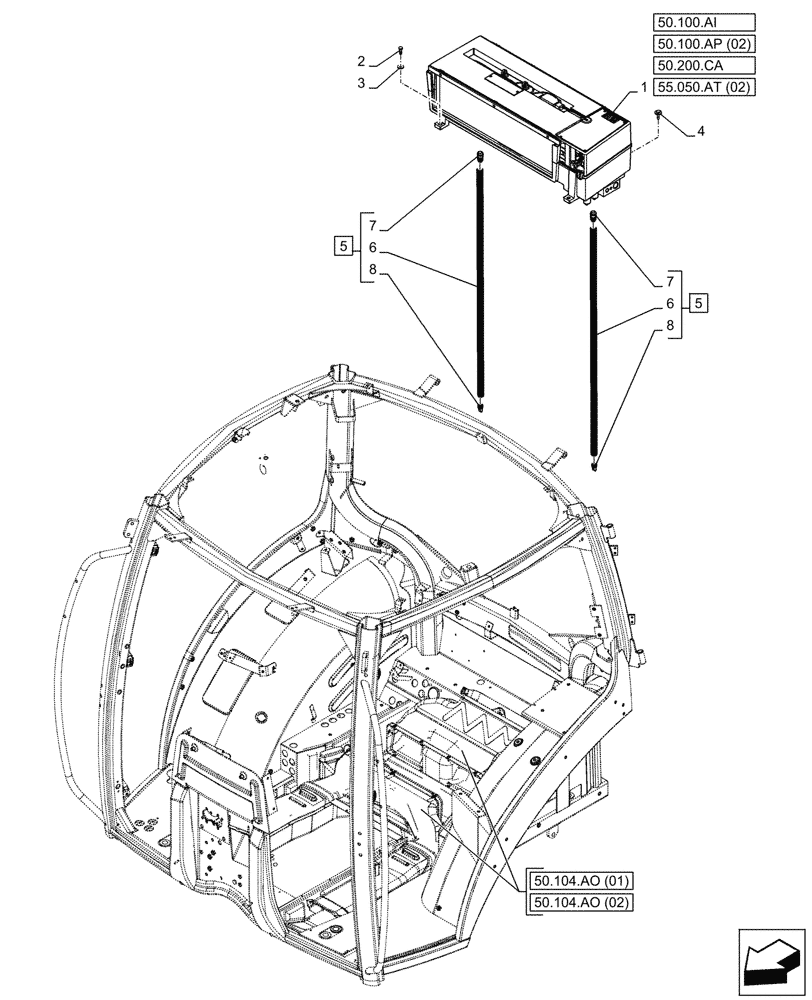
55.050.at (02)
7
7
8
6
1
5
2
8
6
3
5
50.100.ai
4
50.100.ap (02)
50.200.ca
50.104.ao (02)
50.104.ao (01)
FIT
1:1
100%

Артикул

Название

Примечание

Количество

1

47490413

AIR CONDITIONER

ASSY, Mechanical with Electric Water

1шт.

2

10902421

SCREW,Hex, M6 x 20mm, Cl 8.8

2шт.

3

10523401

WASHER,6.15mm ID x 18mm OD x 2mm Thk

2шт.

4

87581911

FLANGE BOLT,Hex, M6 x 25mm

2шт.

5

84232466

TUBE

ASSY, Incl 6 - 8 (Qty 1)

2шт.

6

NSS

NOT SOLD SEPARAT

Drain Hose, Incl in 5

2шт.

7

84231998

DRAIN

2шт.

8

84232000

CHECK VALVE

2шт.

Выбрано товаров: 8