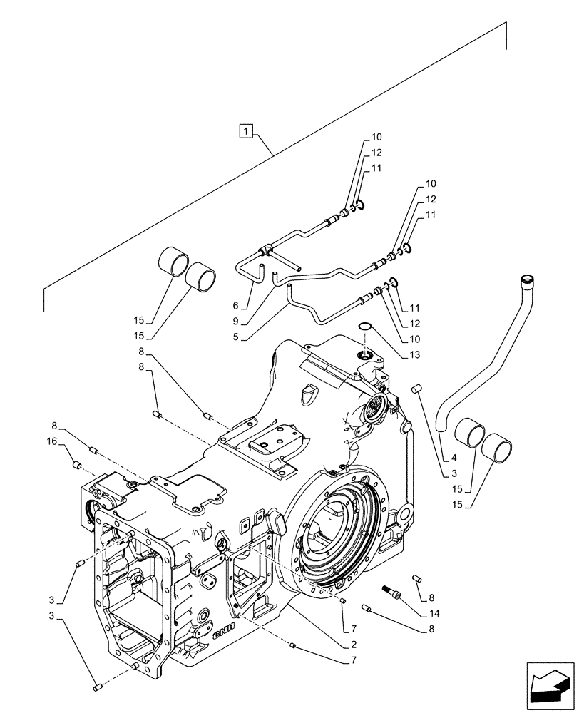
Запчасти Case IH PUMA 150 (21.118.AF[02]) - VAR - 391136, 758011, 758016, 758017 - TRANSMISSION HOUSING, POWERSHIFT (21) - TRANSMISSION

Схема запчастей Case IH PUMA 150 - (21.118.AF[02]) - VAR - 391136, 758011, 758016, 758017 - TRANSMISSION HOUSING, POWERSHIFT (21) - TRANSMISSION
11
10
1
15
12
15
10
15
2
8
7
7
3
13
8
8
9
15
12
11
5
8
10
14
16
4
11
6
3
8
3
12
FIT
1:1
100%

Артикул

Название

Примечание

Количество

1

84312087

HOUSING

ASSY, Incl 2 - 16

1шт.

2

NSS

NOT SOLD SEPARAT

Housing, Incl in 1

1шт.

3

4985062

DOWEL,15mm OD x 25mm L

4шт.

4

87374620

HYD TUBE,413.7, 303.75 mm L

1шт.

5

87386535

HYD TUBE,248, 131 mm L

1шт.

6

87386537

HYD TUBE,423, 112 mm L

1шт.

7

10839710

DOWEL,M10 x 15.00mm

2шт.

8

5110200

DOWEL,12mm OD x 25mm L

10шт.

9

87386528

HYD TUBE,378, 72.5 mm L

1шт.

10

5186628

BUSHING,16mm ID x 22mm OD x 14mm L

3шт.

11

14453182

O-RING,0.07" Thk x 0.489" ID, -14, Cl 9, 70 Duro

3шт.

12

300625

SNAP RING,M16, Ext

3шт.

13

13398776

SNAP RING,M35, Int

1шт.

14

14306520

HEX SOC SCREW,M8 x 1.25 x 30mm, Cl 8.8, Full Thd

1шт.

15

5180491

BUSHING,65.1mm ID x 70.03mm OD x 45mm L

4шт.

16

14326004

PLUG,Hex Socket, M10 x 1.25 x 11.00mm, STL, DAC

1шт.

Выбрано товаров: 16