Запчасти Case IH PUMA 150 (21.120.AB[01]) - VAR - 758016, 758017, 758018, 758019, 758020, 758021 - GEARBOX, POWERSHIFT (21) - TRANSMISSION

Схема запчастей Case IH PUMA 150 - (21.120.AB[01]) - VAR - 758016, 758017, 758018, 758019, 758020, 758021 - GEARBOX, POWERSHIFT (21) - TRANSMISSION
9
7
2
4
8
5
6
10
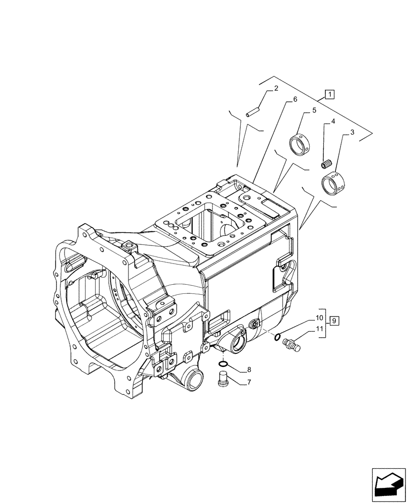
1
11
3
FIT
1:1
100%

Артикул

Название

Примечание

Количество

1

84252680

HOUSING

ASSY, Incl 2 - 6

1шт.

2

5153109

DOWEL,10mm OD x 15mm L

2шт.

3

5189017

BUSHING,90.02mm ID x 100.06mm OD x 52.5mm L

1шт.

4

10275501

PLUG,Pipe, Hex Skt, M12 x 1.25 x 11mm, Cl 4.8

2шт.

5

5189016

BUSHING,90.02mm ID x 100.06mm OD x 28mm L

1шт.

6

NSS

NOT SOLD SEPARAT

Housing, Incl in 1

1шт.

7

10119511

PLUG,M33 x 2 x 16, Cl5.8

1шт.

8

14438285

O-RING,29.5mm ID x 3.0mm

1шт.

9

5185423

COUPLING

ASSY, Incl 18, 22

4шт.

10

86598099

O-RING,2.2mm Thk x 11.3mm ID, Cl 6

4шт.

11

NSS

NOT SOLD SEPARAT

Coupling, Incl in 17

4шт.

Выбрано товаров: 11